EasyManua.ls Logo

Cessna 182 1978 - Page 555

Cessna 182 1978
680 pages
Print Icon
To Next Page IconTo Next Page
To Next Page IconTo Next Page
To Previous Page IconTo Previous Page
To Previous Page IconTo Previous Page
Loading...
MODEL
182
&
T182
SERIES
SERVICE
MANUAL
-TG%4
'
Lh
-RO,
TC
'°'
,
.~
z
L.
OD-LD
iV)
\
I
__
I
e
'
~~tl~i04
QI
--
'-¶3o
SCAcToQ--
5C)
^^"-'""
^D
^*
ReqtWlrj
-leiO
sr,?-T
v^ "
(DC.
.
Lt
,
;
.
--
L8I
J
A
I
.-
L
.
1
93°!
D
LDI
OI
N
I
^COQ)W)00^*
40 0
C>-»-Q>
0
-^
1
________
SIPE0
T
O1TKP WU
GR0)--P'
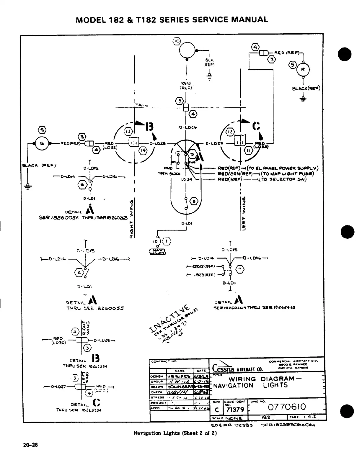
WIRING
DIAGRAM--
-D TI-13
ONAWN
YOt%
-NAVIGATION
LIGHTS
ThRu
SE'r
82 co3S34
5
S
C001
O-0F.T
WIG
NO.
__________1____;___3_______________________
iSCAL
N4ONL
PAGt
i.
-q.4
.},i.
2
GNavtgation Lights
(Sheet
2
of
2).
1
20-28

Table of Contents

Related product manuals