EasyManua.ls Logo

Delta MH300 Series - Page 598

Delta MH300 Series
1030 pages
To Next Page IconTo Next Page
To Next Page IconTo Next Page
To Previous Page IconTo Previous Page
To Previous Page IconTo Previous Page
Loading...
Chapter 12 Description of Parameter Settings
MH300
12.1-14-3
Diagram 01
Diagram 02
Diagram 03
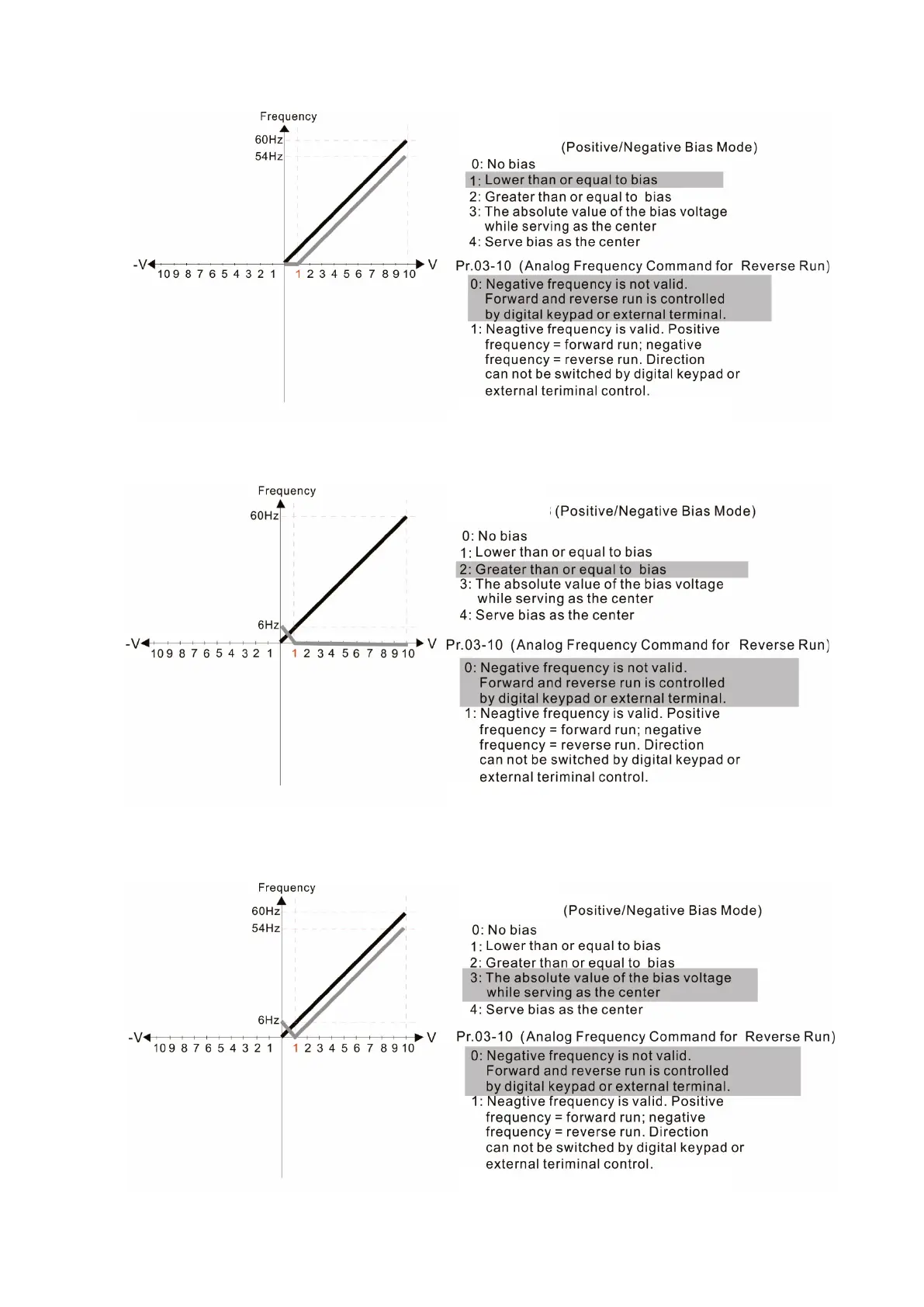
Pr.
14-06 Analog Input Gain (AI10) = 100%
Pr.
14-06 Analog Input Gain (AI10) = 100%
Pr.
14-06 Analog Input Gain (AI10) = 100%
Pr.14
-02 = 10%
Pr.14-04–14-05
Pr.14
-02 = 10%
Pr.14-04–14-05
Pr.14
-02 = 10%
Pr.14-04–14-05

Table of Contents

Related product manuals