EasyManua.ls Logo

GE Datex-Ohmeda S/5 Series - Front Unit

GE Datex-Ohmeda S/5 Series
335 pages
To Next Page IconTo Next Page
To Next Page IconTo Next Page
To Previous Page IconTo Previous Page
To Previous Page IconTo Previous Page
Loading...
Display Unit for F-CM(C)1 (Rev. 05), F-CM(C)REC1 (Rev. 01)
13
Document no. M1144956-003
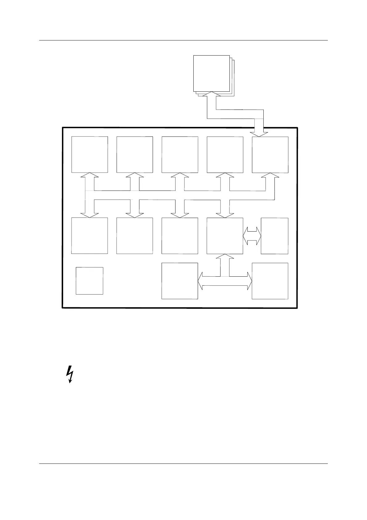
Figure 8 Central Processing Board parts
2.8 Front Unit
WARNING The LCD display backlight circuit runs on a high voltage. Do not touch the
inverter board or the backlight tube leads when powered.
Front Unit includes an LCD display component, Inverter Board, Connector board and Keyboard.
The Front Unit is connected to the Central Processing Board with two cables: video signal cable
and Connector Board cable. The video signal cable transmits the video signal from the CPB to
the LCD display. Video signalling between the Display Controller on the CPB and the Front Unit
is analogic.
Backlight power, keyboard and ComWheel signals are routed through the Connector Board
Cable.
4
8
6
P
r
o
c
e
s
s
o
r
P
C
M
C
I
A
S
e
r
i
a
l
E
t
h
e
r
n
e
t
S
o
u
n
d
U
P
I
C
h
i
p
s
e
t
D
i
s
p
l
a
y
C
o
n
t
r
o
l
l
e
r
4
8
6
L
O
C
A
L
B
U
S
C
P
U
B
U
S
D
R
A
M
R
e
s
e
t
L
o
g
i
c
N
o
n
-
V
o
l
a
t
i
l
e
M
e
m
o
r
y
B
o
o
t
M
e
m
o
r
y
C
o
d
e
M
e
m
o
r
y
P
a
t
i
e
n
t
M
o
d
u
l
e
s
M
O
D
U
L
E
-
B
U
S
display_central_proc_diagr.vsd

Table of Contents

Related product manuals