EasyManua.ls Logo

HP MSR Router Series - DDR Types

HP MSR Router Series
293 pages
To Next Page IconTo Next Page
To Next Page IconTo Next Page
To Previous Page IconTo Previous Page
To Previous Page IconTo Previous Page
Loading...
173
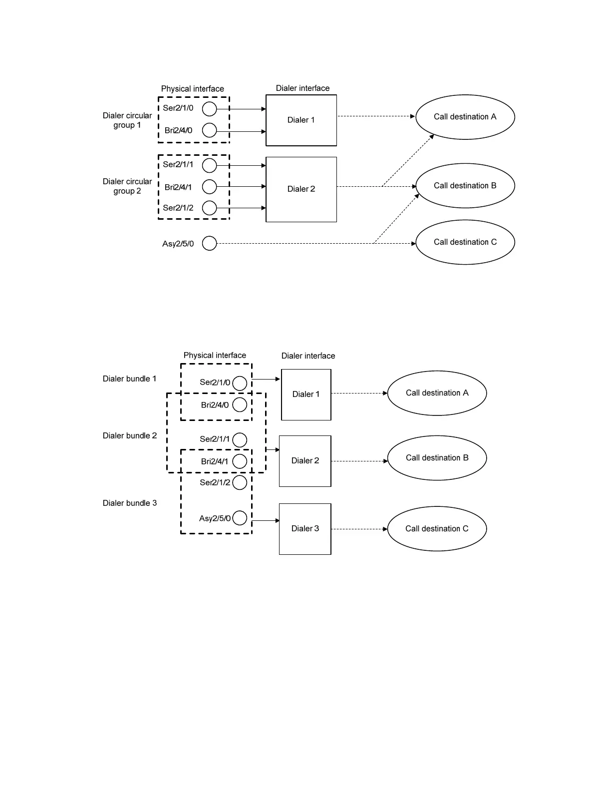
Figure 55 Relationships among physical interfaces, dialer interfaces, and call destinations
Bundle DDR is simpler and more flexible than traditional DDR. Bundle DDR separates physical interface
configuration and logical configuration for calls and allows one-to-many bindings between dial services
and physical interfaces. A physical interface can serve multiple dial services.
Figure 56 Relationships among physical interfaces, dialer interfaces, and call destinations
DDR types
Depending on how DDR calls are triggered, DDR includes packet-triggered DDR, auto-dial DDR, and
route-triggered DDR.
Packet-triggered DDR
You can define packets on a dialup interface as interesting and uninteresting by configuring access
control rules. Only interesting packets trigger outgoing calls and reset the link idle-timeout timer.
Before a dialup connection is established, uninteresting packets will be dropped. After a dialup
connection is established, uninteresting packets can be forwarded. When the link idle-timeout timer
expires, DDR disconnects the connection.

Table of Contents

Other manuals for HP MSR Router Series

Related product manuals