EasyManua.ls Logo

IDTECK iTDC - Setting Menu F3

IDTECK iTDC
146 pages
Print Icon
To Next Page IconTo Next Page
To Next Page IconTo Next Page
To Previous Page IconTo Previous Page
To Previous Page IconTo Previous Page
Loading...
p.94
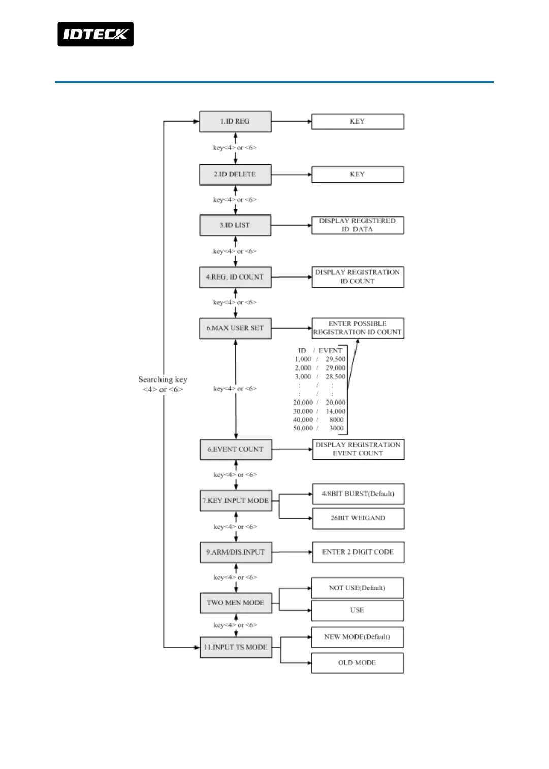
SETTING CHANGES
iTDC
3 SETTING MENU F3

Table of Contents

Other manuals for IDTECK iTDC

Related product manuals