EasyManua.ls Logo

IDTECK iTDC - Arm;Disarm Code

IDTECK iTDC
146 pages
Print Icon
To Next Page IconTo Next Page
To Next Page IconTo Next Page
To Previous Page IconTo Previous Page
To Previous Page IconTo Previous Page
Loading...
p.102
SETTING CHANGES
iTDC
You can choose data format between 4/8Bit burst and 26Bit weigand to transmit reader
button input signal. The Default is 4/8Bit burst. If you choose 26Bit weigand, HID readers that
use 26Bit wiegand can be used, but on the other hand, IDTECK’s readers cannot be used.
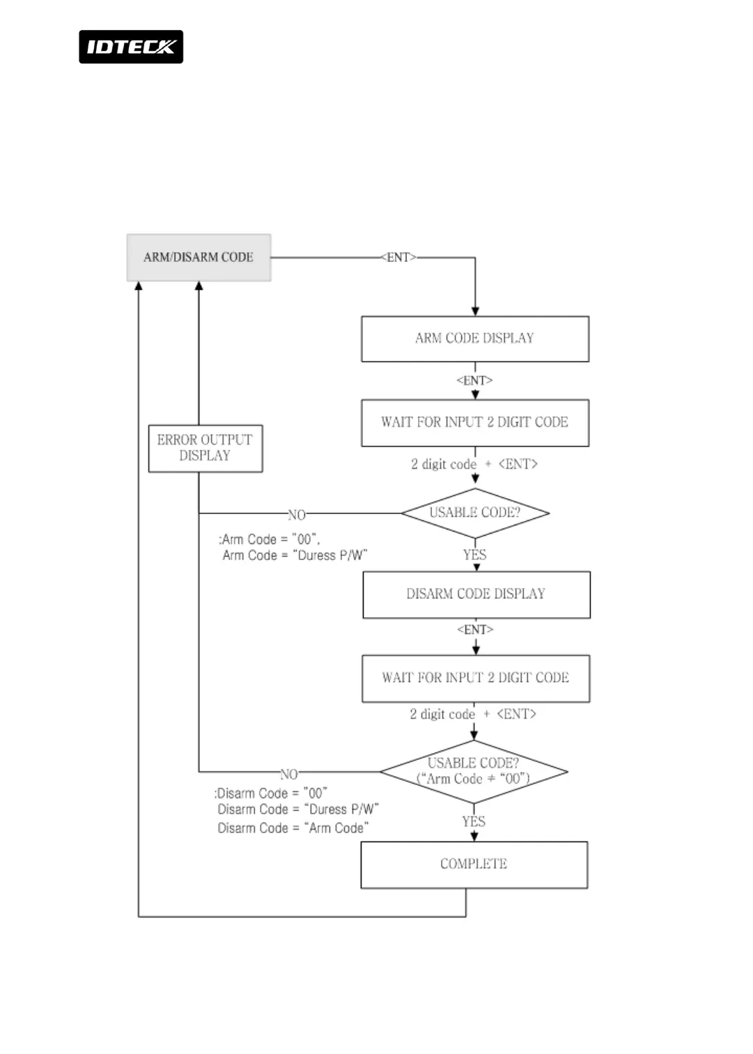
3.8 ARM/DISARM CODE

Table of Contents

Other manuals for IDTECK iTDC

Related product manuals