EasyManua.ls Logo

IDTECK iTDC - ID Registration

IDTECK iTDC
146 pages
Print Icon
To Next Page IconTo Next Page
To Next Page IconTo Next Page
To Previous Page IconTo Previous Page
To Previous Page IconTo Previous Page
Loading...
SETTING CHANGES
iTDC
p.95
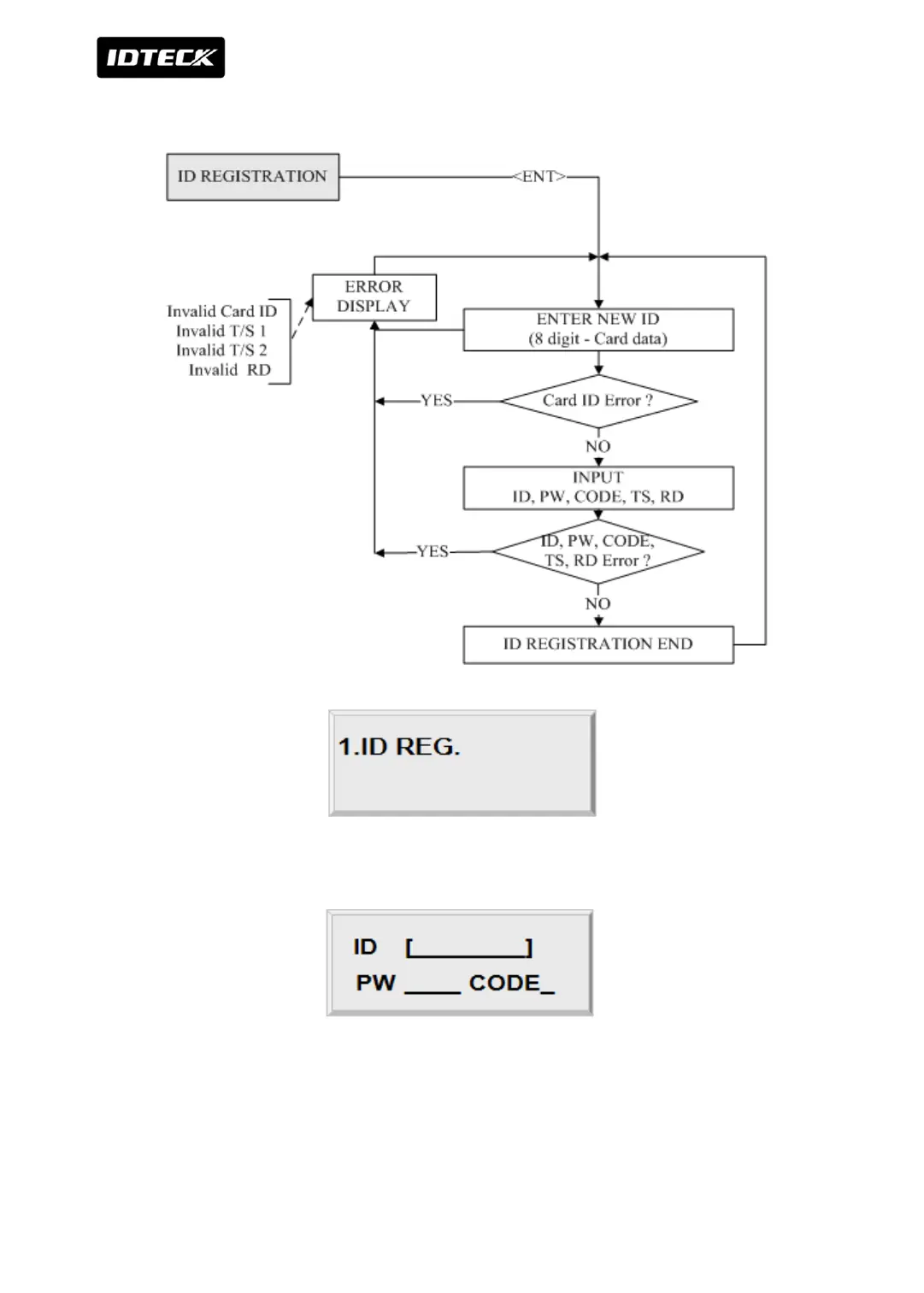
3.1 ID REGISTRATION
Press <ENT> key to register new User ID.
Enter 8 digit Card ID in the ID [________] field and press <ENT> key. For 8 digits user ID, First
3 digits should be between 000 and 255, and last 5 digits should be between 00000 and
65535 Enter 4 digits Password in the PW [____] field and press <ENT> key. Even you don’t
use Password, it is necessary to enter 4 digits Password as default.

Table of Contents

Other manuals for IDTECK iTDC

Related product manuals