EasyManua.ls Logo

Inovance IS810N-INT Series - Page 118

Inovance IS810N-INT Series
290 pages
Print Icon
To Next Page IconTo Next Page
To Next Page IconTo Next Page
To Previous Page IconTo Previous Page
To Previous Page IconTo Previous Page
Loading...
- 118 -
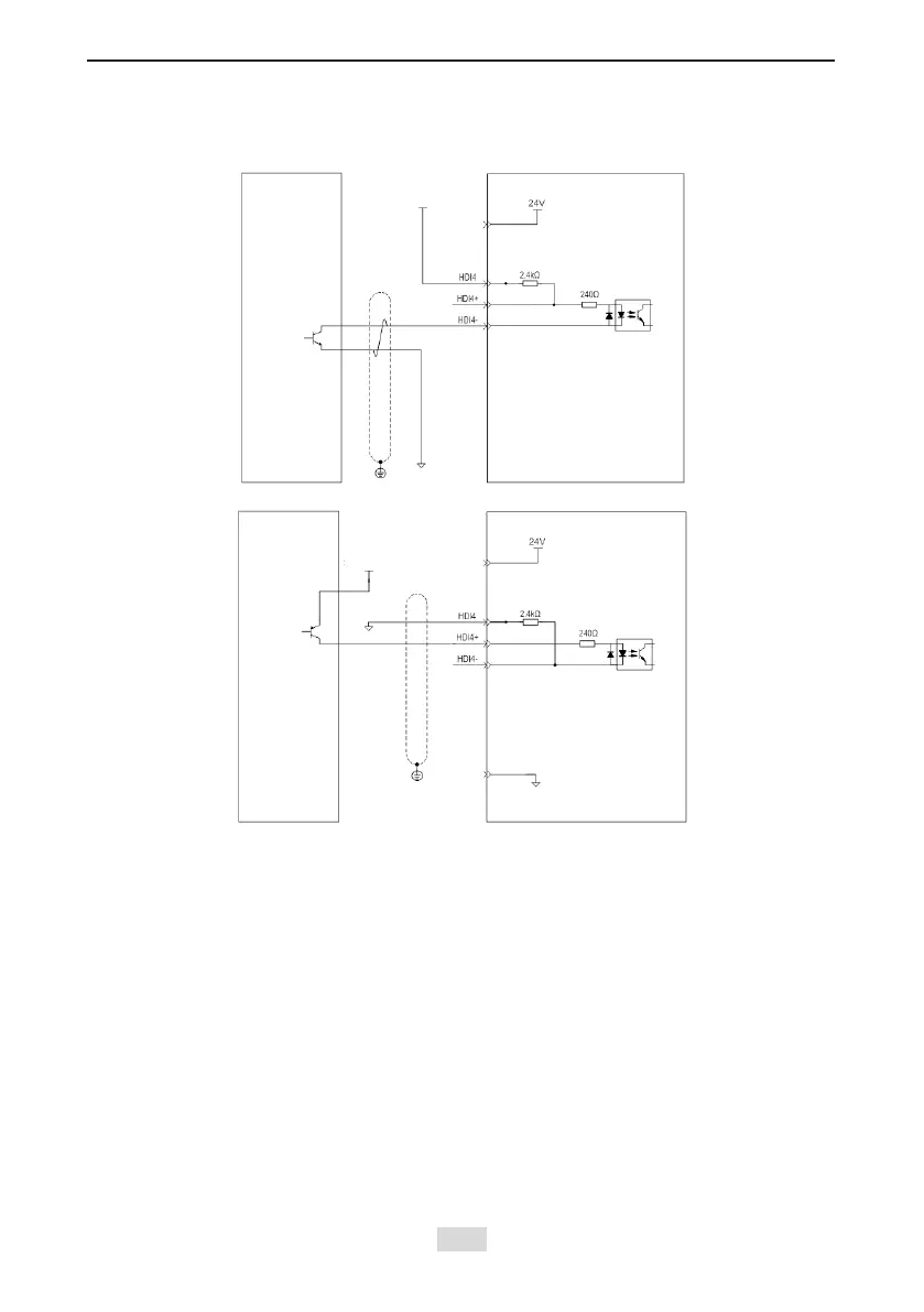
IS810N-INT Series Servo System User Manual (Brief) Chapter 4 Wiring
When the external power supply is used:
Scheme 1: Using the internal resistor of the drive (recommended)
Servo drive
Host controller
Servo drive
Host controller
External +24 VDC
External +24 VDC
External 0 V
External 0 V

Table of Contents

Related product manuals