EasyManua.ls Logo

Ricoh bk5010 - 6.2.4 CONTROLLER MD3 DC

Ricoh bk5010
284 pages
Print Icon
To Next Page IconTo Next Page
To Next Page IconTo Next Page
To Previous Page IconTo Previous Page
To Previous Page IconTo Previous Page
Loading...
6-17
19 April 2006
Detailed De-
scription
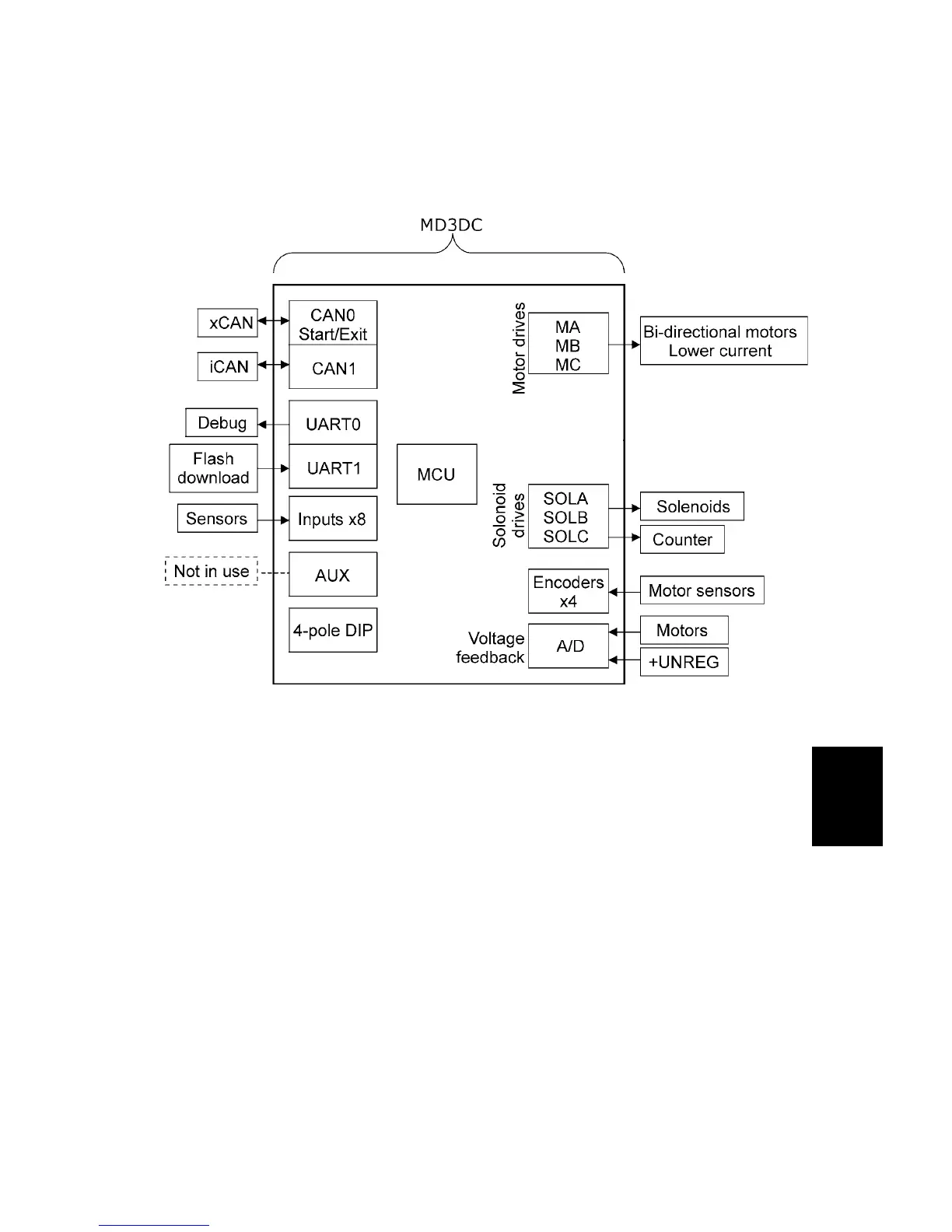
6.2.4 CONTROLLER MD3DC
The MD3DC PCB is present in Booklet maker (x1).

Table of Contents

Other manuals for Ricoh bk5010

Related product manuals