EasyManua.ls Logo

Ricoh TH-C1b - Copier (B156;B220); Power Sockets for Peripherals

Ricoh TH-C1b
433 pages
Print Icon
To Next Page IconTo Next Page
To Next Page IconTo Next Page
To Previous Page IconTo Previous Page
To Previous Page IconTo Previous Page
Loading...
10 February 2005 COPIER (B156/B220)
1-3
Installation
1.2 COPIER (B156/B220)
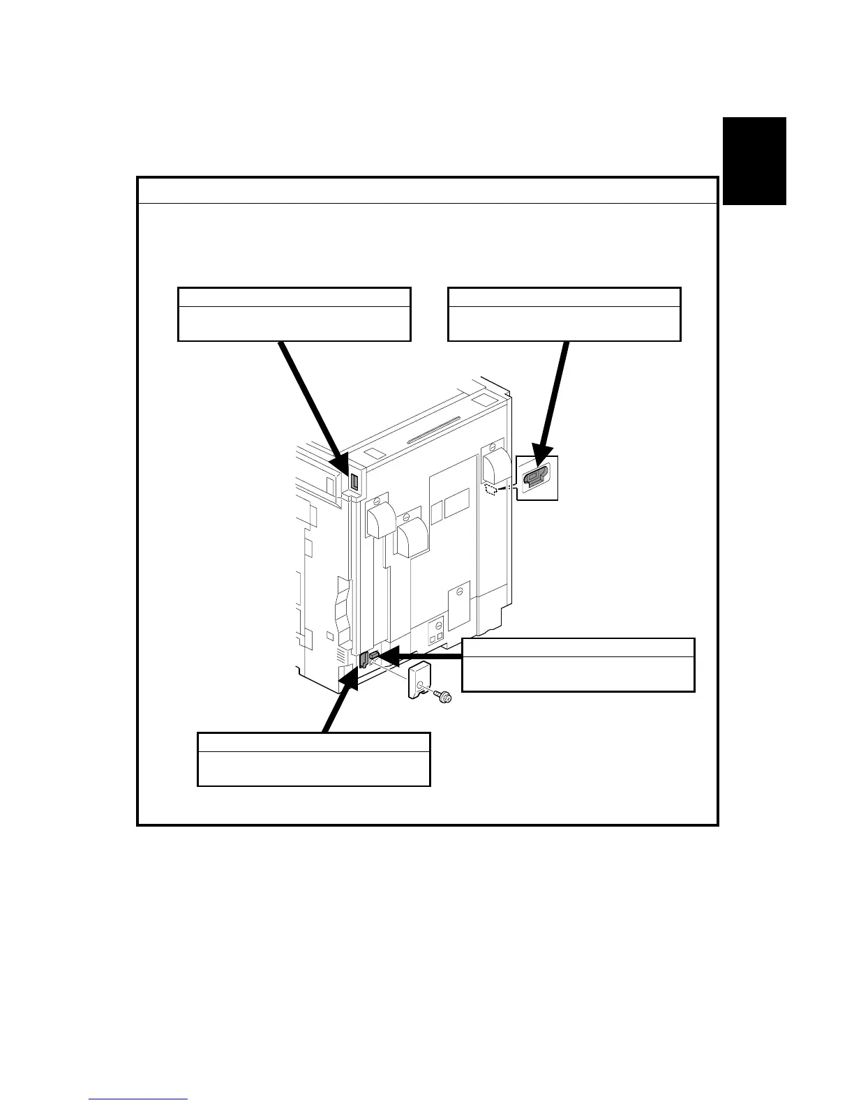
1.2.1 POWER SOCKETS FOR PERIPHERALS
!CAUTION
Rating voltage for peripherals.
Make sure to plug the cables into the correct sockets.
B156I502.WMF
1. ADF
1. Rating voltage output connector
for accessory Max. DC24 V
2. Finisher
1. Rating voltage output connector
for accessory Max. DC24 V
3. By-pass Tray
1. Rating voltage output connector
for accessory Max. DC24 V
4. Duplex Unit
1. Rating voltage output connector
for accessory Max. DC24 V

Table of Contents