EasyManua.ls Logo

Tandy 1400LT - Page 116

Tandy 1400LT
301 pages
Print Icon
To Next Page IconTo Next Page
To Next Page IconTo Next Page
To Previous Page IconTo Previous Page
To Previous Page IconTo Previous Page
Loading...
A
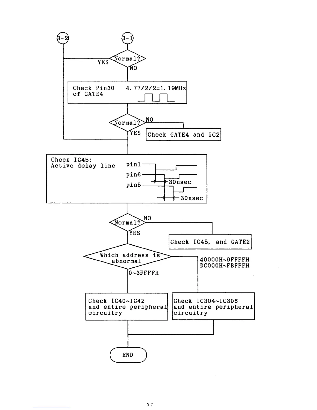
Check Pin30 4. 77/2/2=1.
19MHz
of
GATE4
m
Check
IC45:
Active delay
line
Pin1
pin6
pin5
30nsec
3F
30nsec
Check IC45, and GATE2
40000H-9FFFFH
DCOOOH-FBFFFH
0-3FFFFH
Check IC40-IC42
and
entire
peripheral
circuitry
I
I
I
1
1
Check IC304-IC306
and
entire
peripheral
circuitry
5-7

Table of Contents

Related product manuals