EasyManua.ls Logo

Tandy 1400LT - NTSC Composite and IRGB Interface; NTSC COMPOSITE Interface; IRGB Interface

Tandy 1400LT
301 pages
Print Icon
To Next Page IconTo Next Page
To Next Page IconTo Next Page
To Previous Page IconTo Previous Page
To Previous Page IconTo Previous Page
Loading...
NTSC
composite
and
IRGB
Interface
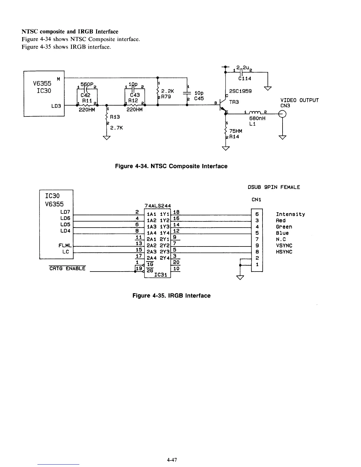
Figure 4-34 shows NTSC Composite interface.
Figure 4-35 shows
IRGB
interface.
M
i
5F!Pp2
i1AP
2
c142
c43
2.2K
-
R79
V6355
IC30
,R12
i
2SCi959
-=
10P
2
c45
C
VIDEO
*
IC30
V6355
LO7
LD6
LO5
LO4
FLML
LC
Figure
4-34.
NTSC Composite Interface
CN
I
7
4ALS2
44
r
IAl lY1’-18
6
.
1A2 IY2.l’
.3
-
lA3 lY3.
l4
4
-
lA4 1Y4
l2
5
2AI 2Y19
7
.
13-
2A2 2Y2
9
I
15~
2~3
2~3.~
8
17
2A4 2Y43
-2
OUTPUT
-1
20
10
-
CRTG ENABLE
E
26-
Intensity
Red
Green
Blue
N.C
VSYNC
HSYNC
Figure
4-35.
IRGB
Interface
4-47

Table of Contents

Related product manuals