EasyManua.ls Logo

Tandy 1400LT - IV-9. ROM Control Circuit; ROM Address Decoder Circuit; ROM and Peripheral Circuitry

Tandy 1400LT
301 pages
Print Icon
To Next Page IconTo Next Page
To Next Page IconTo Next Page
To Previous Page IconTo Previous Page
To Previous Page IconTo Previous Page
Loading...
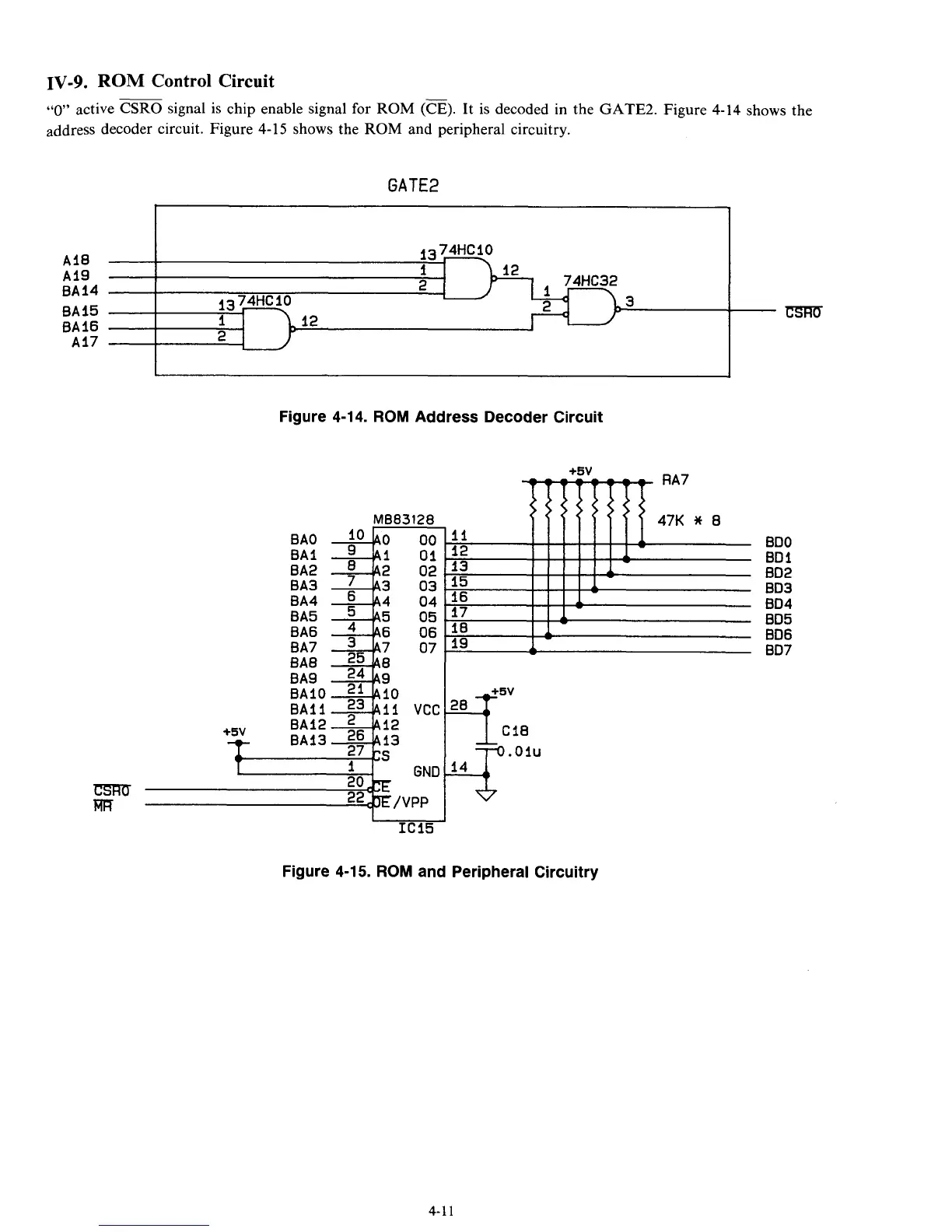
IV-9.
ROM
Control Circuit
ā€œ0ā€
active CSRO signal is chip enable signal for ROM
(@).
It is decoded in the GATE2. Figure
4-14
shows the
address decoder circuit. Figure
4-15
shows the ROM and peripheral circuitry.
BAO
Io
BAl
BA2
BA3
BA4
BA5
BA6
BA7
BA8
25.A8
BA9
24
BAIO
21
BA12
BA13
26
BA~I
23~~11
+5v
GATE2
A0
Ai
A2
A3
A4
.A5
.A6
A7
A9
A10
A12
A13
A18
A19
BA14
BA15
BA16
A17
Figure 4-14.
ROM
Address Decoder Circuit
ME83128
csm
FIR
IC15
00
01
02
03
04
05
06
07
vcc
GND
IA
19
I-
BDO
BD
1
b02
BD3
BD4
BD5
b06
BD7
Figure 4-15.
ROM
and Peripheral Circuitry
4-1
1

Table of Contents

Related product manuals