EasyManua.ls Logo

Tandy 1400LT - EL Check

Tandy 1400LT
301 pages
Print Icon
To Next Page IconTo Next Page
To Next Page IconTo Next Page
To Previous Page IconTo Previous Page
To Previous Page IconTo Previous Page
Loading...
@
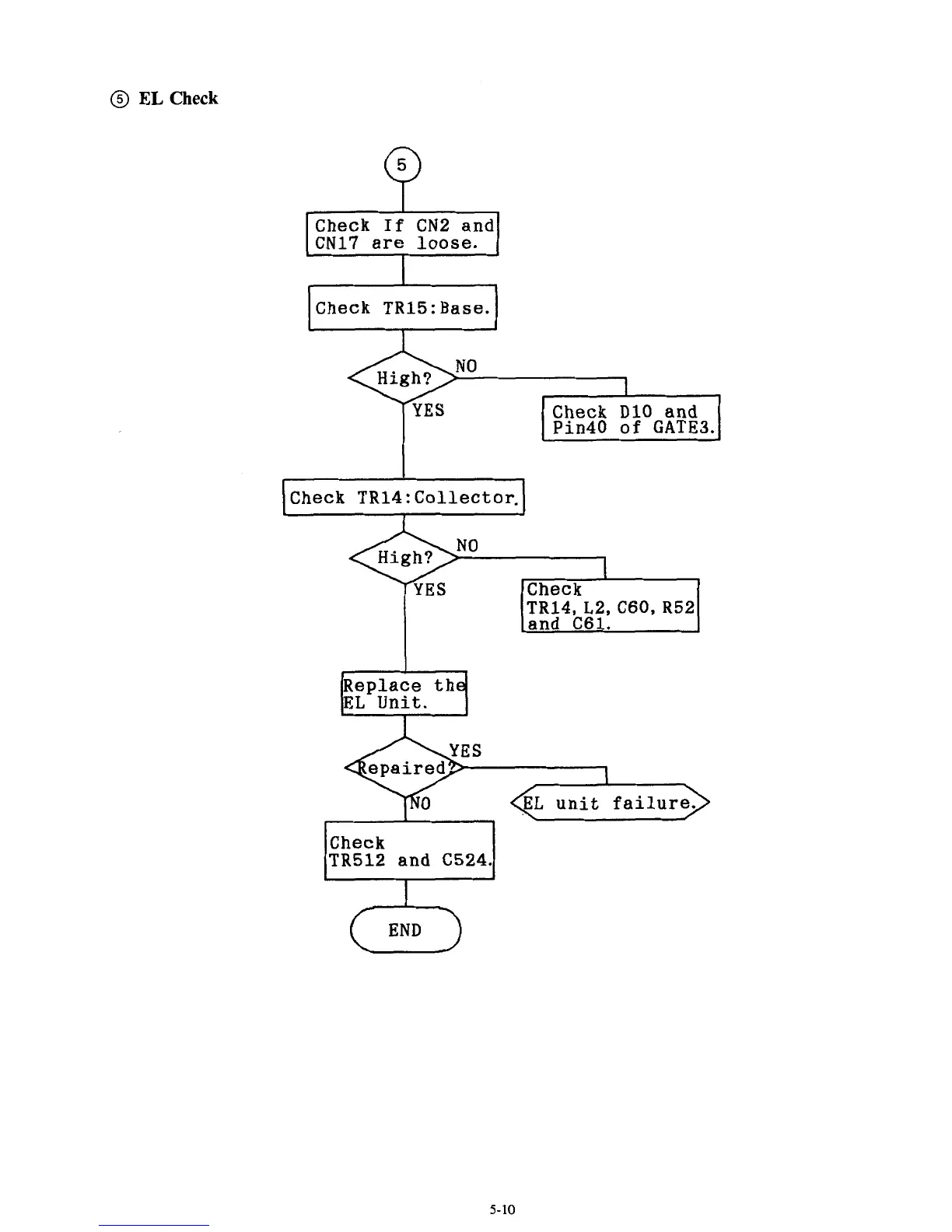
EL
Check
Check If CN2 and
Check TR15:Base.
e
Check D10
and
Pin40
of
GATE3.
Check TR14:Collector.
I
I
Check
TR14, L2,
C60,
R52
and C61.
Replace
the
EL
Unit.
I
unit failur
Check
TR512
and C524.
5-10

Table of Contents

Related product manuals