EasyManua.ls Logo

Tandy 1400LT - RTC (Real-Time Clock) Check

Tandy 1400LT
301 pages
Print Icon
To Next Page IconTo Next Page
To Next Page IconTo Next Page
To Previous Page IconTo Previous Page
To Previous Page IconTo Previous Page
Loading...
@
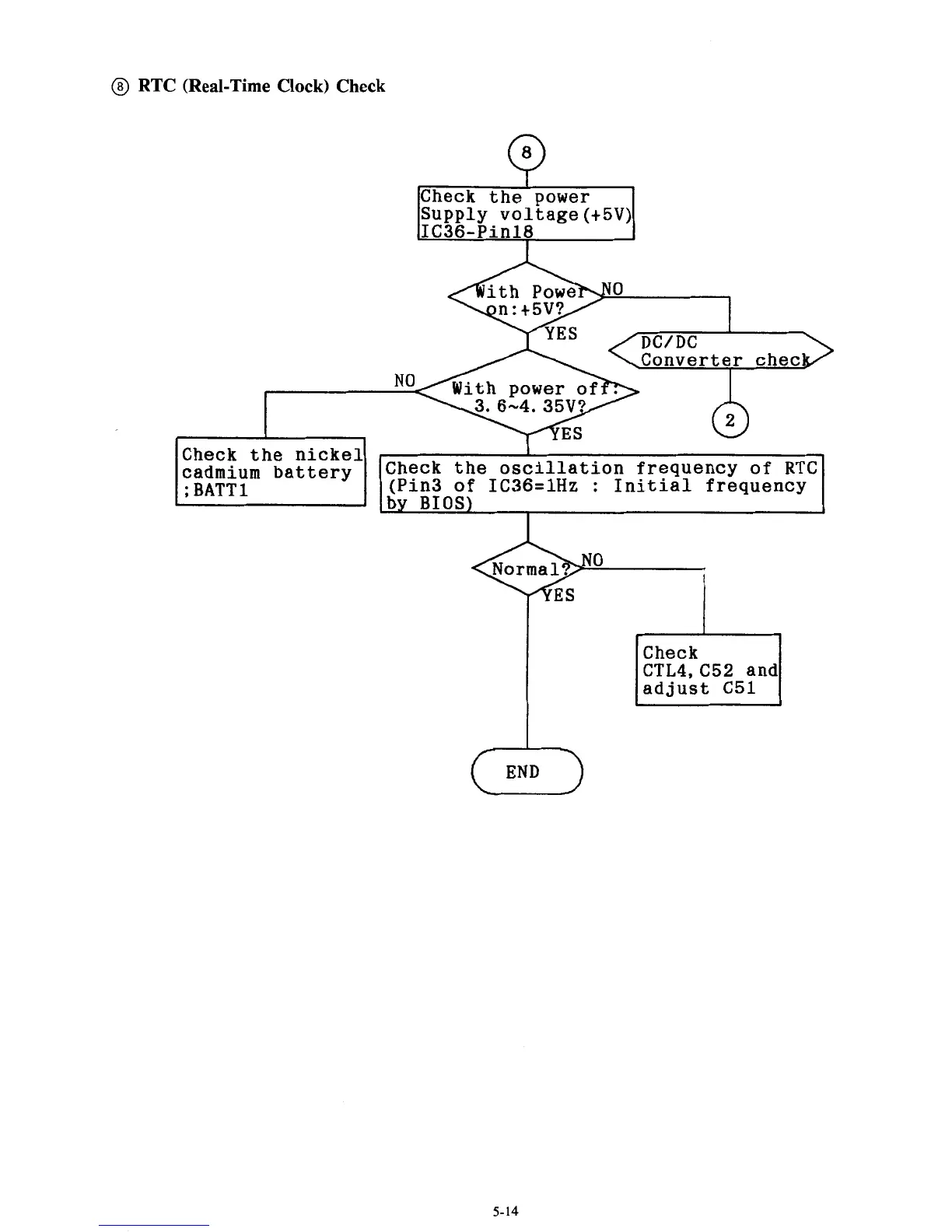
RTC (Real-Time Clock) Check
Q
Check the
power
Supply
voltage
(t5V)
DC/DC
Converter chec
Check the nickel
cadmium battery
;
BATTl
I
Check the
oscillation
frequency of RTC
(Pin3
of
IC36=1Hz
:
Initial frequency
by
BIOS)
0
Check
CTL4,C52 and
adjust
C51
5-14

Table of Contents

Related product manuals