EasyManua.ls Logo

Tandy 1400LT - Composite CRT Check

Tandy 1400LT
301 pages
Print Icon
To Next Page IconTo Next Page
To Next Page IconTo Next Page
To Previous Page IconTo Previous Page
To Previous Page IconTo Previous Page
Loading...
@
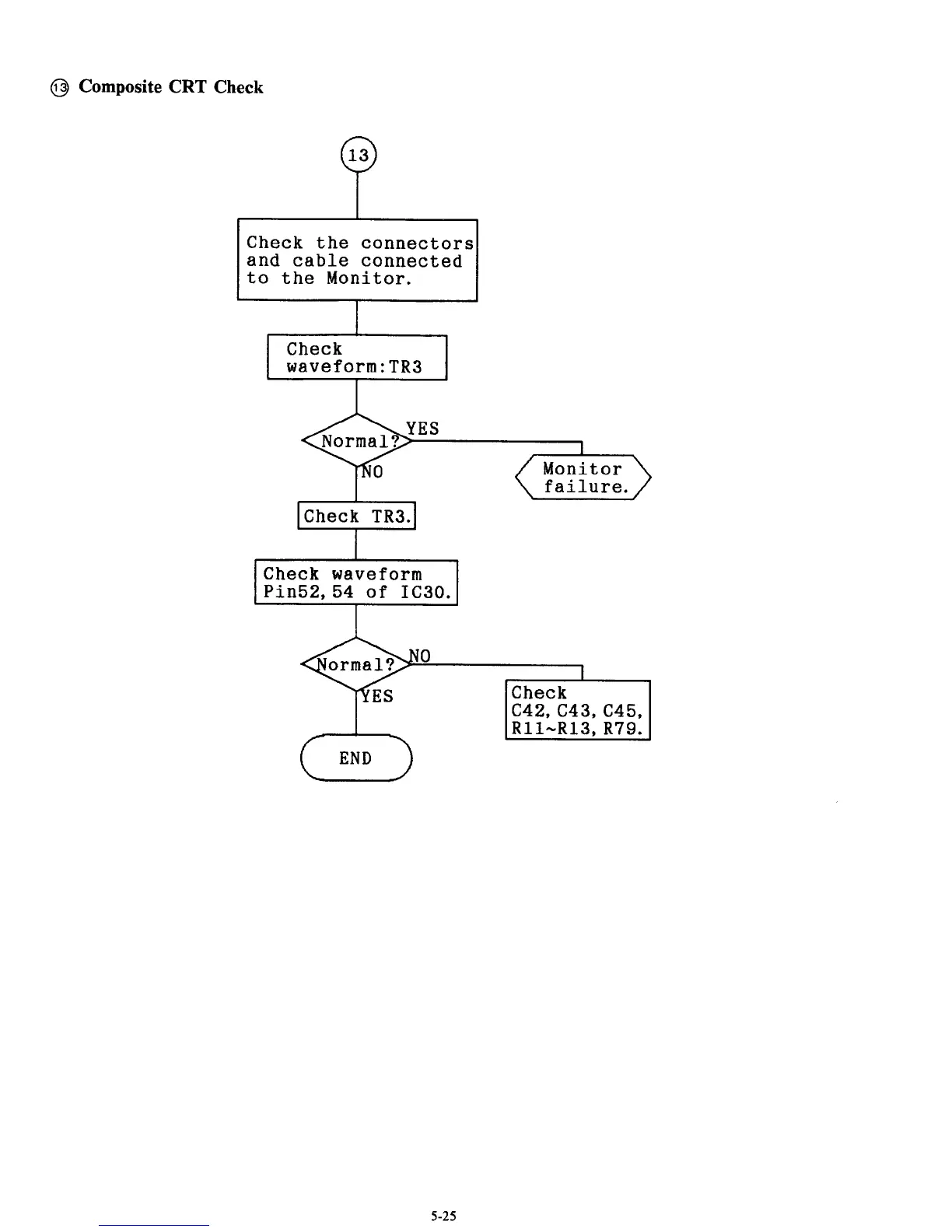
Composite
CRT
Check
Check
C42, C43, C45,
Rll-R13,
R79.
~
Check the connectors
and cable connected
to the Monitor.
Monitor
failure.
Check
TR3.
Check waveform
IPin52,54 of
5-25

Table of Contents

Related product manuals