EasyManua.ls Logo

Tandy 1400LT - Page 136

Tandy 1400LT
301 pages
Print Icon
To Next Page IconTo Next Page
To Next Page IconTo Next Page
To Previous Page IconTo Previous Page
To Previous Page IconTo Previous Page
Loading...
P
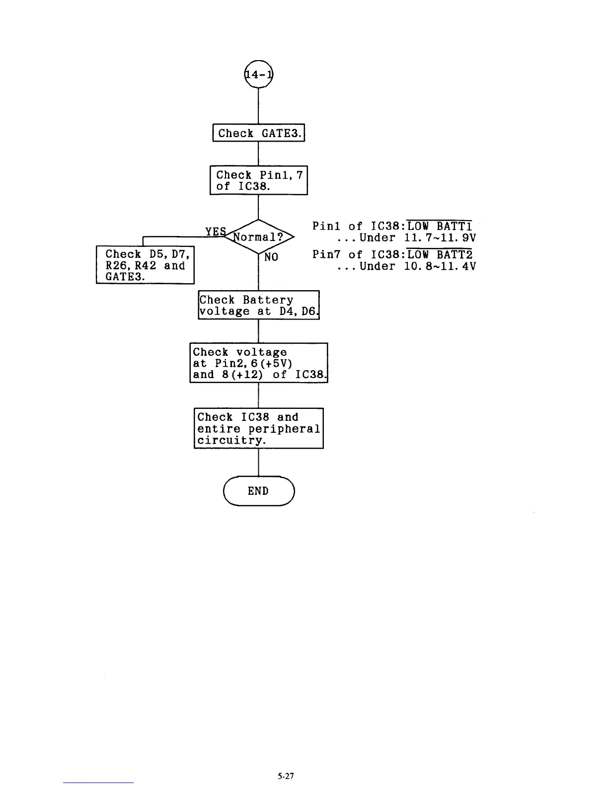
Check D5,D7,
R26,R42 and
Pin7
of
IC38:LOW BATT2
.
. .
Under 10. 8-11.4V
I
GATE3.
Check Battery
voltage at D4,D6.
Check voltage
at Pin2,6 (t5V)
and 8(t12)
of
IC38.
ICheck IC38 and
I
5-21

Table of Contents

Related product manuals