EasyManua.ls Logo

YASKAWA SGDV-OCA05A

YASKAWA SGDV-OCA05A
576 pages
To Next Page IconTo Next Page
To Next Page IconTo Next Page
To Previous Page IconTo Previous Page
To Previous Page IconTo Previous Page
Loading...
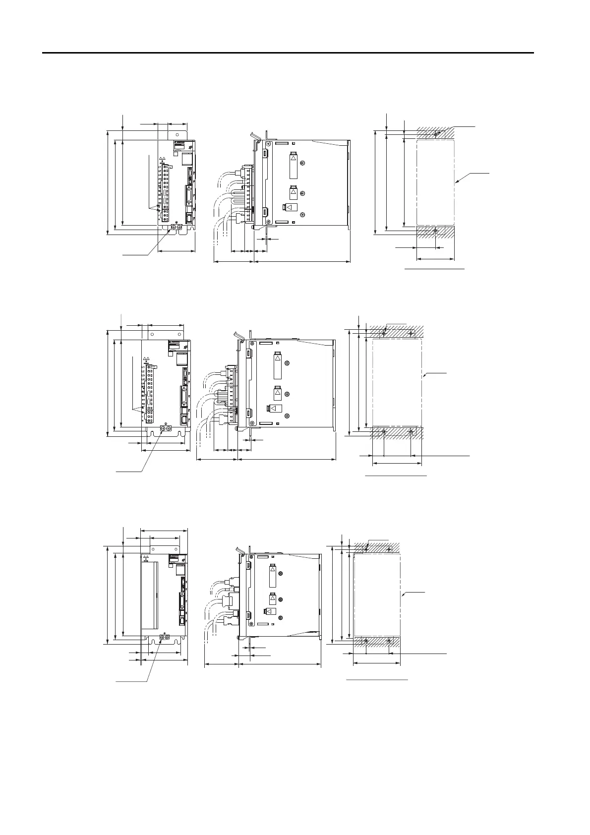
2.3 External Dimensions
2.3.2 SERVOPACK External Dimensions
2-24
Three-phase, 200 VAC: SGD7S-3R8A, -5R5A, and -7R6A; Single-phase,
100 VAC: SGD7S-2R8F
Three-phase, 200 VAC: SGD7S-120A
Three-phase, 200 VAC: SGD7S-180A and -200A
Unit: mm
Approx. mass:1.6 kg
Exterior
Mounting Hole Diagram
180 ± 0.5 (mounting pitch)
Ground
terminals
2
×
M4
Two sets of terminals
166 min.
195
36.5
70
2 × M4
7.5
7
(25)
(75) 180
18
24.5
(2)
160
168
70
195
18.5 36
17.5
Exterior
180
±
0.5 (mounting pitch)
50
±
0.5
(mounting pitch)
Unit: mm
Approx. mass:
2.2 kg
Mounting Hole Diagram
Ground
terminals
2
×
M4
Two sets of terminals
17.5
12.5 65
10
160
168
195
90
70
(75)
180
18
(25)
24.5
(2)
20
90
4
×
M4
195
7
7.5
166 min.
Exterior
200
±
0.5 (mounting pitch)
50
±
0.5
(mounting pitch)
Unit: mm
Approx. mass: 2.7 kg
Ground
terminals
2 × M4
Mounting Hole Diagram
(3)
18
180
17.5
20.5
188
215
100
70
65
103
(75)
180
(2)
24.5
215
7
7.5
28
186 min.
103
4 × M4

Table of Contents

Related product manuals