EasyManua.ls Logo

Ceia THS/21 - THS-FBV (Flat Belt)

Ceia THS/21
210 pages
Print Icon
To Next Page IconTo Next Page
To Next Page IconTo Next Page
To Previous Page IconTo Previous Page
To Previous Page IconTo Previous Page
Loading...
2
FI002K0018v1530hUK – THS/21 Instruction manual for installation, use and maintenance
DESCRIPTION
26 ORIGINAL INSTRUCTION
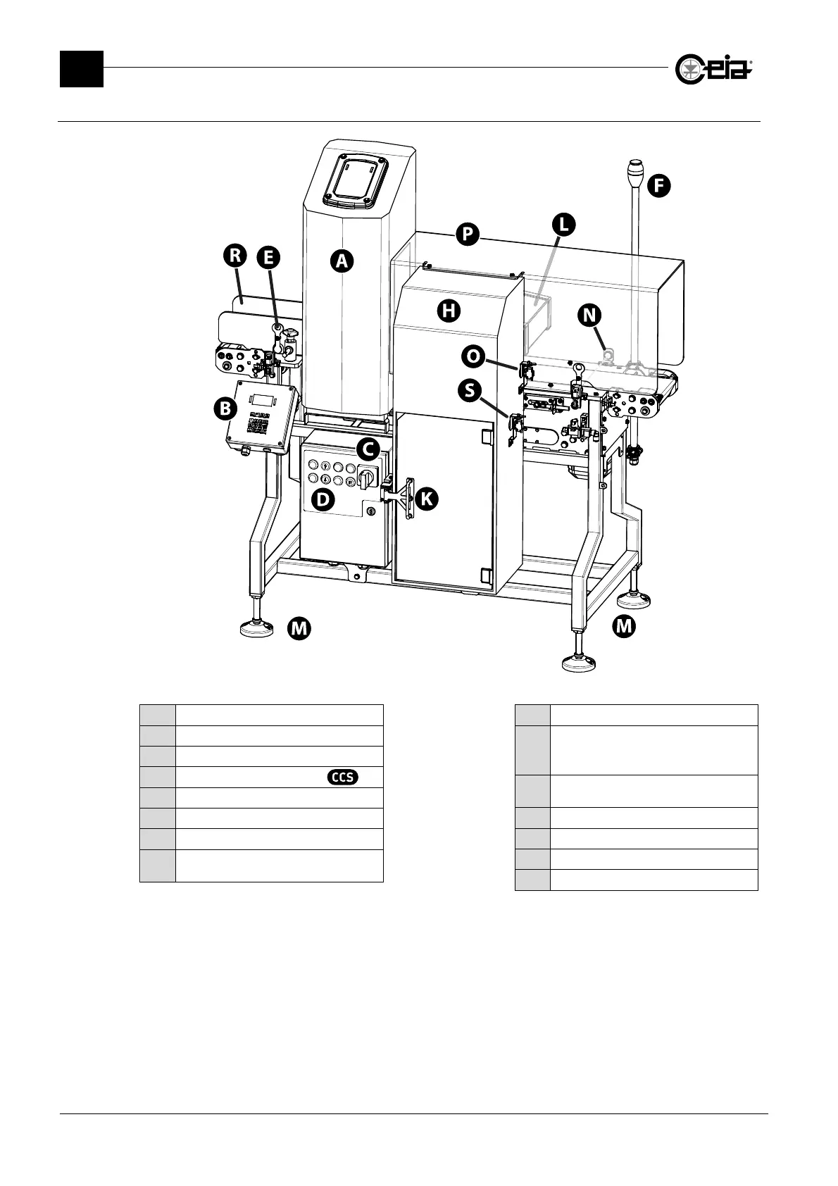
2.3.2.5 THS-FBV (flat belt)
THS-FBV with ejection system
A
Metal Detector Probe
B
Programming and control panel
C
Main switch
D Conveyor belt control panel
E Synchronization photocell
F External beacon
H
Reject bin
K
Rejected product bin lock (or, upon
request, solenoid lock)
L
Ejection system
M
Support feet (to be fixed to the floor)
or
lockable castors
N
Ejection verification photocell
(optional)
O
Ejection confirmation photocell
P
Ejection area protection cover
R
Product containment banks
S Bin full sensor (optional)

Table of Contents

Other manuals for Ceia THS/21

Related product manuals