EasyManua.ls Logo

Gemsy GEM1900A - Setting the Pattern Thread Tension; Table of the Standard Patterns

Default Icon
217 pages
Print Icon
To Next Page IconTo Next Page
To Next Page IconTo Next Page
To Previous Page IconTo Previous Page
To Previous Page IconTo Previous Page
Loading...
Operation Instruction SC201(1900A/1903A)
22
2.4.9 Setting the Pattern Thread Tension
Needle thread tension for 6 stitches at the sewing start, the portion which is changed over from
basting stitch to zigzag stitch, and the portion of the stitch at the sewing end can be individually
set.
2.4.10 Table of the Standard Patterns
NO.
Stitch Diagram
Numbers
of Stitches
L
×
W
mm
NO.
Stitch Diagram
Numbers
of Stitches
L
×
W
mm
1
42
16×2
2
42
10×2
3
42
16×2.5
4
42
24×3
5
28
10×2
6
28
16×2.5
7
36
10×2
8
36
16×2.5
9
56
24×3
10
64
24×3
11
21
6×2.5
12
28
6×2.5
13
36
6×2.5
14
15
8×2
15
21
8×2.2
16
28
8×2
17
21
10×1
18
28
10×1
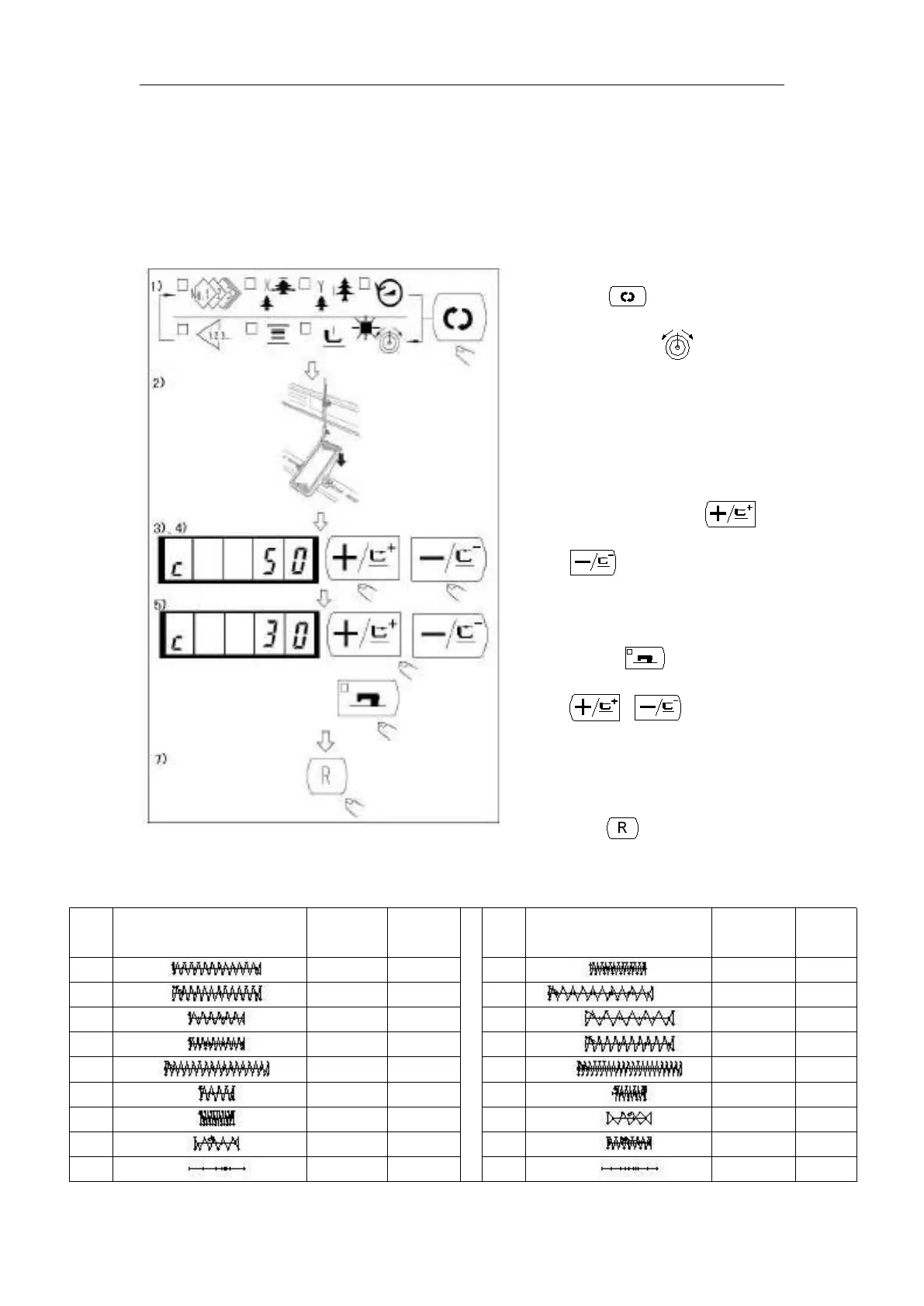
1 When the sewing LED lights up,
press key to indicate the needle
thread tension .
2 Lower the presser with foot pedal.
(Caution: When the foot pedal is
depressed until it will go no further,
the sewing machine starts. So, be
careful.
3 Move the feed with or
key.
4 “c” is indicated at the position where
the tension position is possible.
5 Pressing key, set the tension with
or key.
6 Repeat steps 3), 4) and 5) to set the
tension.
7 When setting is complete,
press key. The presser moves to
the origin and goes up.

Table of Contents

Related product manuals