EasyManua.ls Logo

Gemsy GEM1900A - 布压脚底板的调整 Adjusting the Feed Plate

Default Icon
217 pages
Print Icon
To Next Page IconTo Next Page
To Next Page IconTo Next Page
To Previous Page IconTo Previous Page
To Previous Page IconTo Previous Page
Loading...
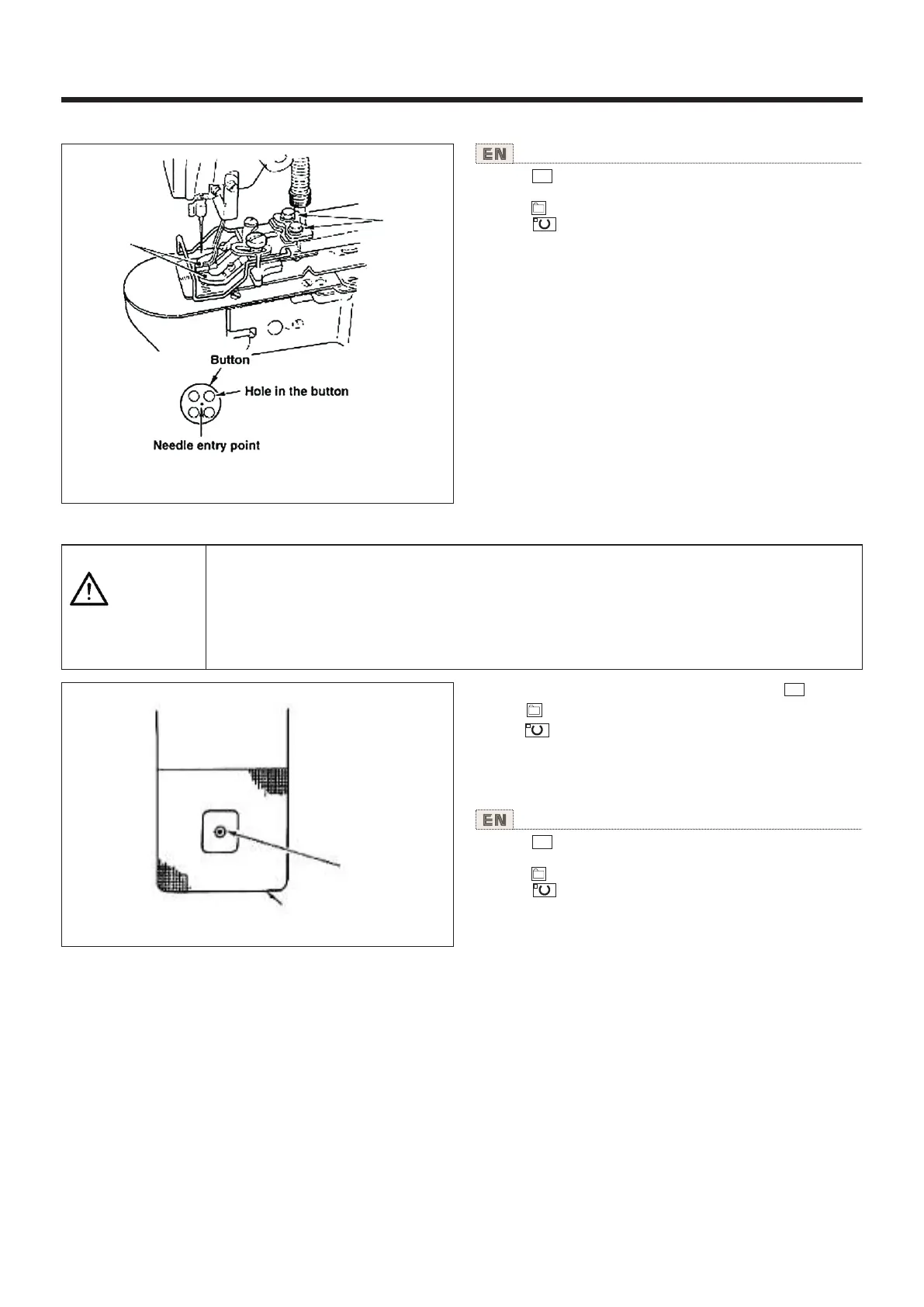
1) Press key in the state that the swing LED goes off using
the operation panel.
2) Press key.
3) Press key. The button clamp unit goes to the origin pos-
ition and goes up.
4) Place a button in button clamp jaw levers .
5) Depress the pedal to the first step and detach your foot from
the pedal when the button clamp unit comes down.
6) Turn the hand pulley and check that the center of the need-
le enters the center of the button.
7) If the center of the needle is not located in the center of the
button, loosen screws in the button clamp jaw lever base to
adjust so that the center of the needle enters the center of the
button.
8) When depressing the pedal to the second step at step 5),
the button clamp unit moves again to the origin position in add-
ition, when the button clamp unit comes down, depress the pe-
dal to the first step and detach the foot from the pedal. Then
the button clamp unit goes up.
M
P1
6.布 Adjusting the feed plate
1LED
2
3 线
4 使
H
M
P1
1) Press key in the state that the swing LED goes off using
the operation panel.
2) Press key.
3) Press key. The button clamp unit goes to the origin pos-
ition and goes up.
4) Adjust feed plate so that needle hole guide comes to
the center of the recessed part of feed plate .
M
P1
使Operation Instruction
73
CAUTION
When change of the shape of button, change of the sewing pattern or enlargement/reduction of the
sewing width is performed, make sure the needle entry point. If the needle extends outside the button
hole or the sewing pattern extends outside the button clamp unit, the needle interferes with the button
hole or the button clamp unit, resulting in the danger of the needle breakage or the like.

Table of Contents

Related product manuals