EasyManua.ls Logo

Gemsy GEM1900A - Instructions of the Panel

Default Icon
217 pages
Print Icon
To Next Page IconTo Next Page
To Next Page IconTo Next Page
To Previous Page IconTo Previous Page
To Previous Page IconTo Previous Page
Loading...
SC201(1900A/1903A) Operation Instruction
3
2. Operation Instruction
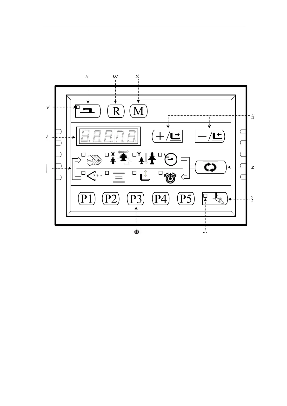
2.1 Instructions of the Panel
Readykey
This key changes over the setting state from the panel to the sewing state where the sewing
machine actually operates.
Sewing LED
This LED goes off at the time of setting state and lights up at the time of sewing state. Change
over can be performed with Readykey.
Resetkey
This key is used for canceling error or returning the set value to the initial value.
Modekey
This key makes the setting mode of the memory switch.
+/Feed forwardkey and -/Feed backwardkey
This key is used for changing pattern NO. and X/Y scale, and feed forward / feed backward.
Selectionkey
This key selects the item to be set. Item selection LED of the selected item and the set value
are displayed.
Data indication LED

Table of Contents

Related product manuals