EasyManua.ls Logo

marposs P7WB - Viewing Acceleration Values

Default Icon
164 pages
Print Icon
To Next Page IconTo Next Page
To Next Page IconTo Next Page
To Previous Page IconTo Previous Page
To Previous Page IconTo Previous Page
Loading...
– Programming Manual 11. Measurement adjustment 63
11.4.
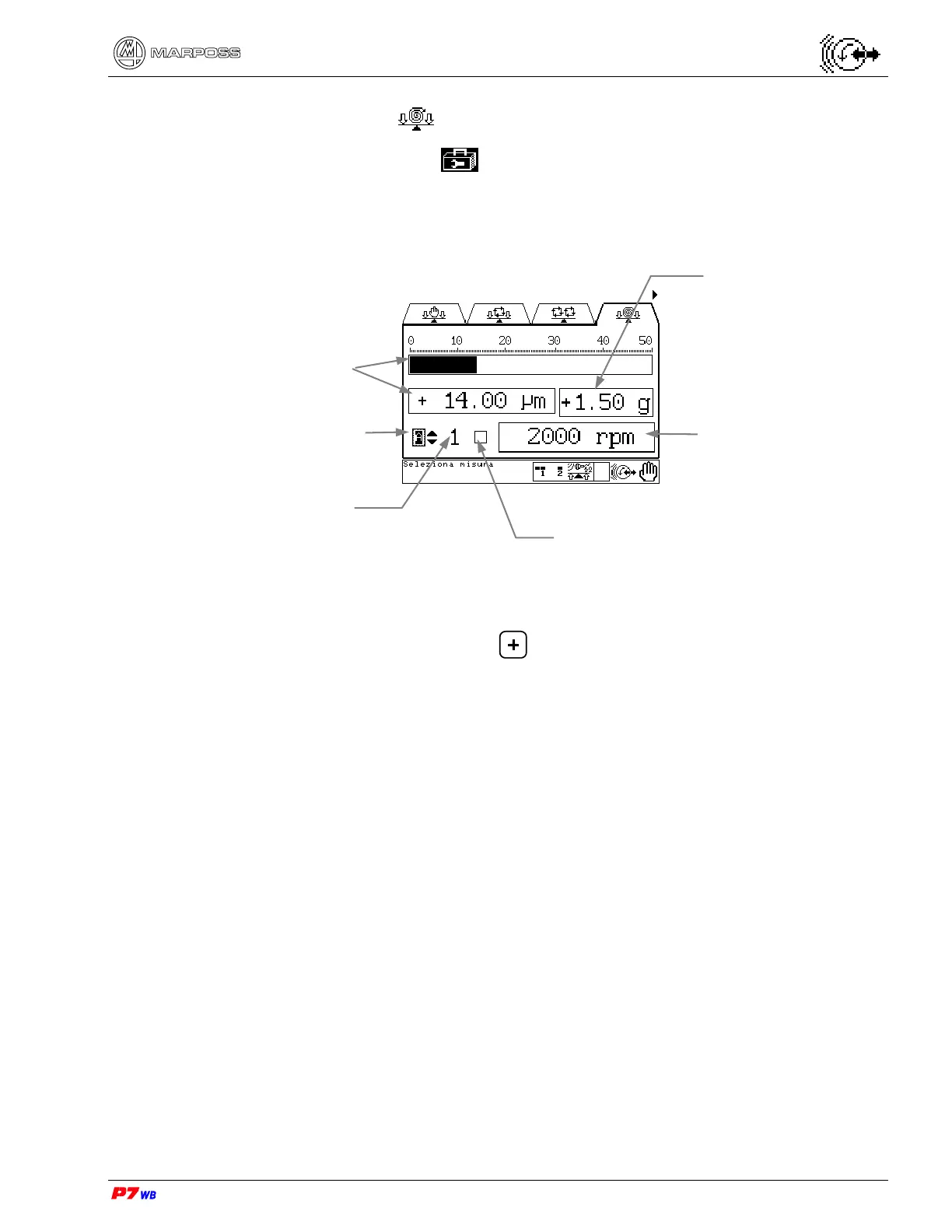
View acceleration
Page D5 of the “Utilities” folder menu map (section 8.1, page 3).
The acceleration value is a signal directly coming from the vibration sensor
(accelerometer): this makes it possible to improve the system reaction in case of an
alarm condition.
(1) Measurement selection: present only in the applications with two logical channels.
With the field highlighted, press to select the desired measurement (the
number of the corresponding physical channel, 1 or 2, is displayed).
(2) The vibration value can be displayed either as width (unit of measure "micron" or
"inch") or speed (unit of measure "mm/sec" or "inch/sec"). The display mode is
defined upon the application configuration.
Acceleration value
Measurement selection
- A or B (1).
Wheel rotation speed
Vibration value (2)
No. of physical channel
Virtual LED: indicates when the
programmed acceleration limit is
exceeded (sec. 13.3).

Table of Contents