EasyManua.ls Logo

Ricoh D096 - 4.10.5 LEFT EXHAUST FAN; 4.10.6 PSU (POWER SUPPLY UNIT)

Ricoh D096
268 pages
Print Icon
To Next Page IconTo Next Page
To Next Page IconTo Next Page
To Previous Page IconTo Previous Page
To Previous Page IconTo Previous Page
Loading...
Other Replacements
D096 4-54 SM
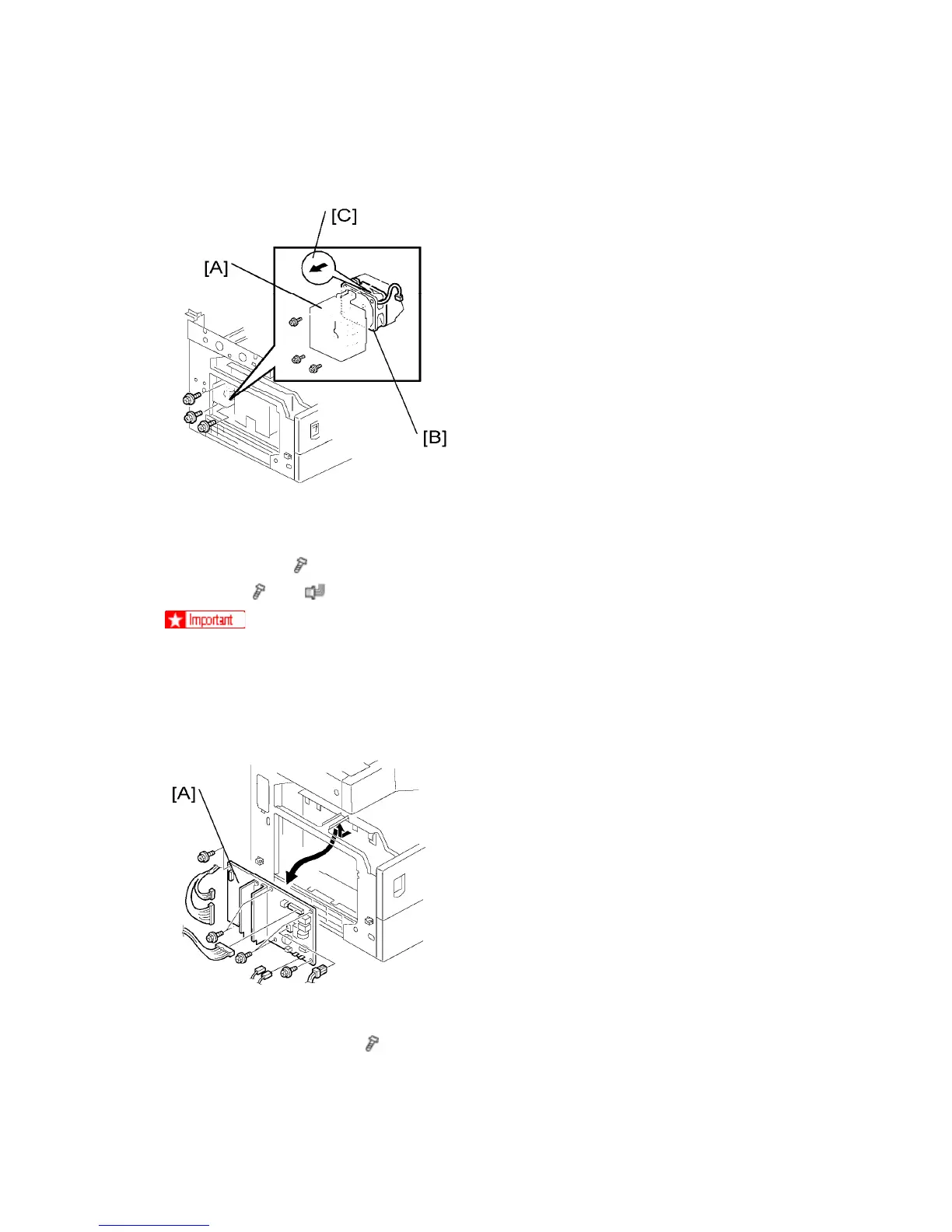
4.10.5 LEFT EXHAUST FAN
1. Rear cover
2. Left cover
3. Fan cover [A] (
x 3)
4. Fan [B] (
x 3, x 1)
Make sure that the arrow on the fan [C] points the outside of the copier when you
reassemble. The arrow indicates the direction of the air current.
4.10.6 PSU (POWER SUPPLY UNIT)
1. Left cover
2. PSU [A] (All connectors,
x 6)

Table of Contents

Related product manuals