EasyManua.ls Logo

Ricoh D096 - 4.6.5 CHARGE ROLLER AND CLEANING BRUSH

Ricoh D096
268 pages
Print Icon
To Next Page IconTo Next Page
To Next Page IconTo Next Page
To Previous Page IconTo Previous Page
To Previous Page IconTo Previous Page
Loading...
PCU Section
D096 4-30 SM
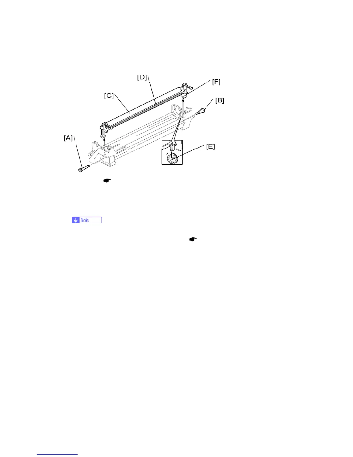
4.6.5 CHARGE ROLLER AND CLEANING BRUSH
1. OPC Drum (
p.4-29)
2. Holding pin [A]
3. Stepped screw [B]
4. Charge roller [C] and cleaning brush [D] (with the holders and springs)
Turn the gear [E] (as necessary) so that the rear holder [F] comes out.
5. When reassembling, adjust the image quality (
p.4-33 "After Replacement or
Adjustment").

Table of Contents

Related product manuals