EasyManua.ls Logo

Ricoh D096 - 4.4.3 LAMP STABILIZER BOARD AND EXPOSURE LAMP

Ricoh D096
268 pages
Print Icon
To Next Page IconTo Next Page
To Next Page IconTo Next Page
To Previous Page IconTo Previous Page
To Previous Page IconTo Previous Page
Loading...
Scanner Unit
D096 4-12 SM
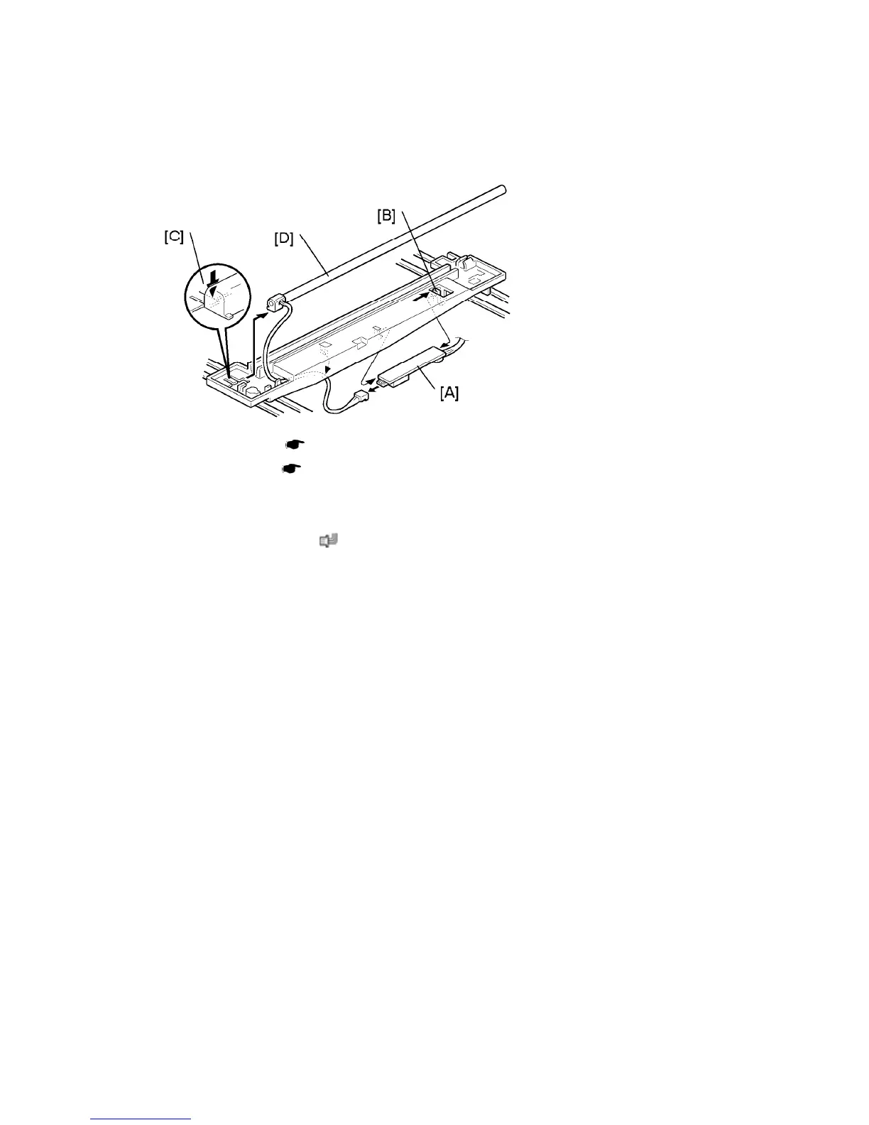
4.4.3 LAMP STABILIZER BOARD AND EXPOSURE LAMP
1. Operation panel (
p.4-5 "Upper Covers")
2. Exposure glass (
p.4-10 "Exposure Glass/DF Exposure Glass ")
3. Slide the first scanner to a position where the front end of the lamp is visible.
4. Place one hand under the lamp stabilizer board [A] and release the hook [B].
5. Lamp stabilizer board (
x 2)
6. Press the plastic latch [C] and push the front end of the lamp toward the rear.
7. Lamp [D] (with the cable)

Table of Contents

Related product manuals