EasyManua.ls Logo

Ricoh D096 - 4.3.9 BY-PASS TRAY

Ricoh D096
268 pages
Print Icon
To Next Page IconTo Next Page
To Next Page IconTo Next Page
To Previous Page IconTo Previous Page
To Previous Page IconTo Previous Page
Loading...
Exterior Covers & Operation Panel
D096 4-8 SM
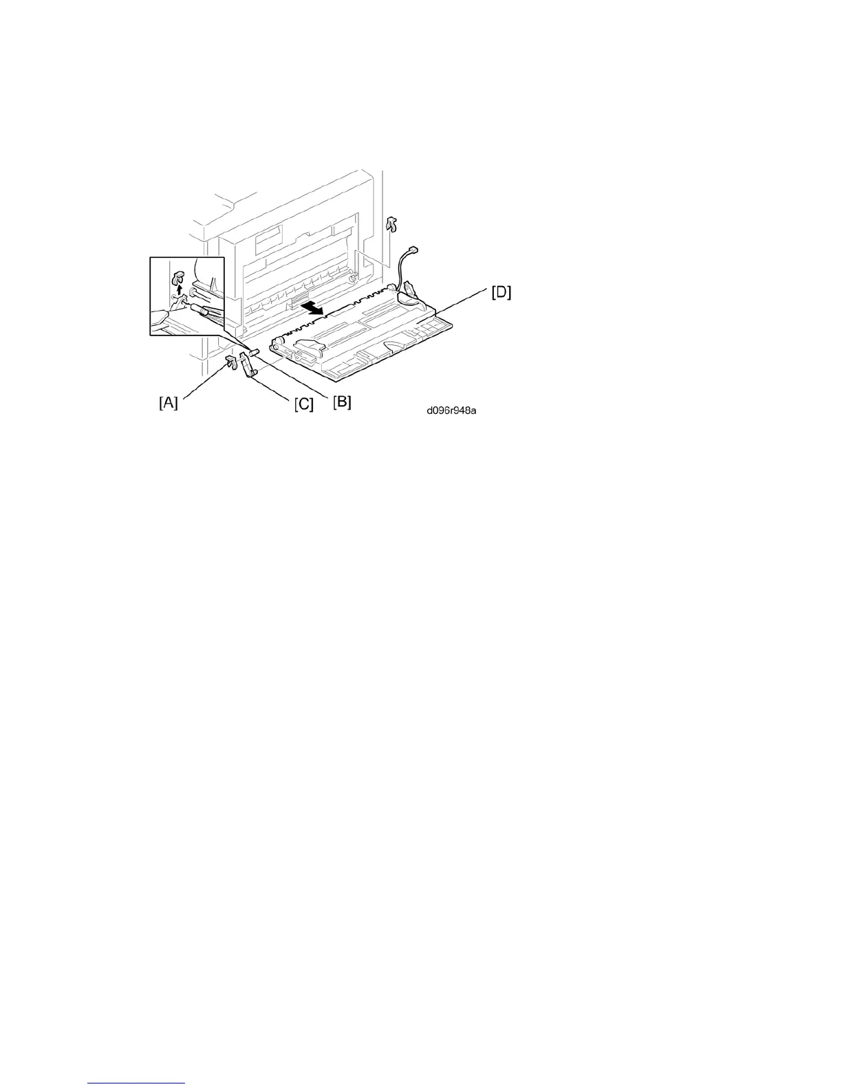
4.3.9 BY-PASS TRAY
1. Right rear cover (above)
2. Open the right door.
3. Release the by-pass tray cable from the clamps (see [A] on the preceding procedure)
and disconnect the connector (5-pin connector with colored wires).
4. Front-side clip ring [A]
5. Front-side pin [B] (You can push the pin from behind the right door.)
6. Front-side tray holder arm [C]
7. Remove the rear-side clip ring, pin, and tray holder arm in the same manner.
8. By-pass tray [D]

Table of Contents

Related product manuals