EasyManua.ls Logo

Ricoh D096 - 4.4.5 SCANNER HOME POSITION SENSOR

Ricoh D096
268 pages
Print Icon
To Next Page IconTo Next Page
To Next Page IconTo Next Page
To Previous Page IconTo Previous Page
To Previous Page IconTo Previous Page
Loading...
Scanner Unit
D096 4-14 SM
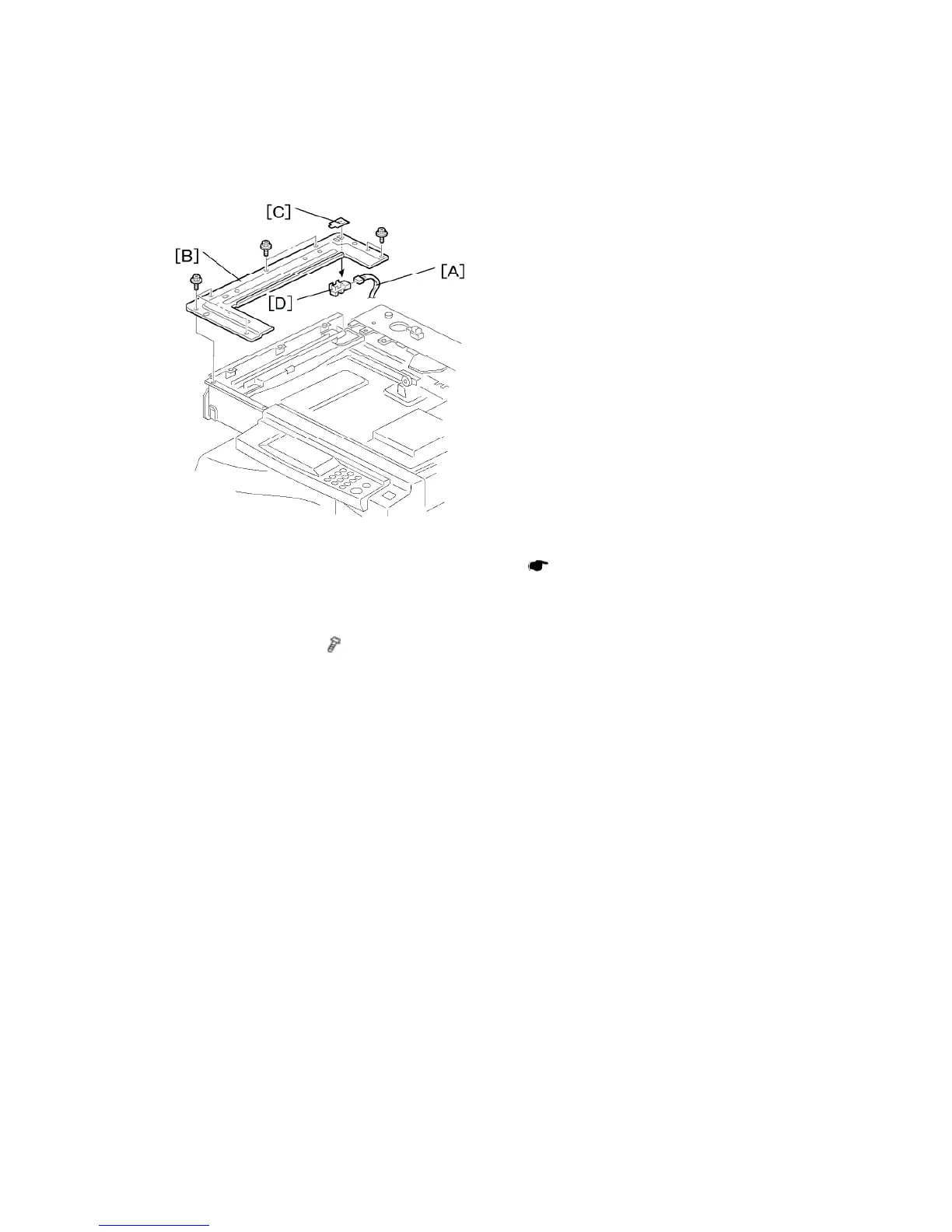
4.4.5 SCANNER HOME POSITION SENSOR
1. Left upper cover, top rear cover.
2. Exposure glass, DF exposure glass (if installed) (
p.4-10 "Exposure Glass/DF
Exposure Glass ")
3. Disconnect the connector [A].
4. Scanner left lid [B] (
x 7)
5. Sensor tape [C].
6. Scanner home position sensor [D]

Table of Contents

Related product manuals