EasyManua.ls Logo

Sony CCD-TRV32 - Zoom Lens Block Section (Lsv-510 A)

Sony CCD-TRV32
212 pages
Print Icon
To Next Page IconTo Next Page
To Next Page IconTo Next Page
To Previous Page IconTo Previous Page
To Previous Page IconTo Previous Page
Loading...
5-10
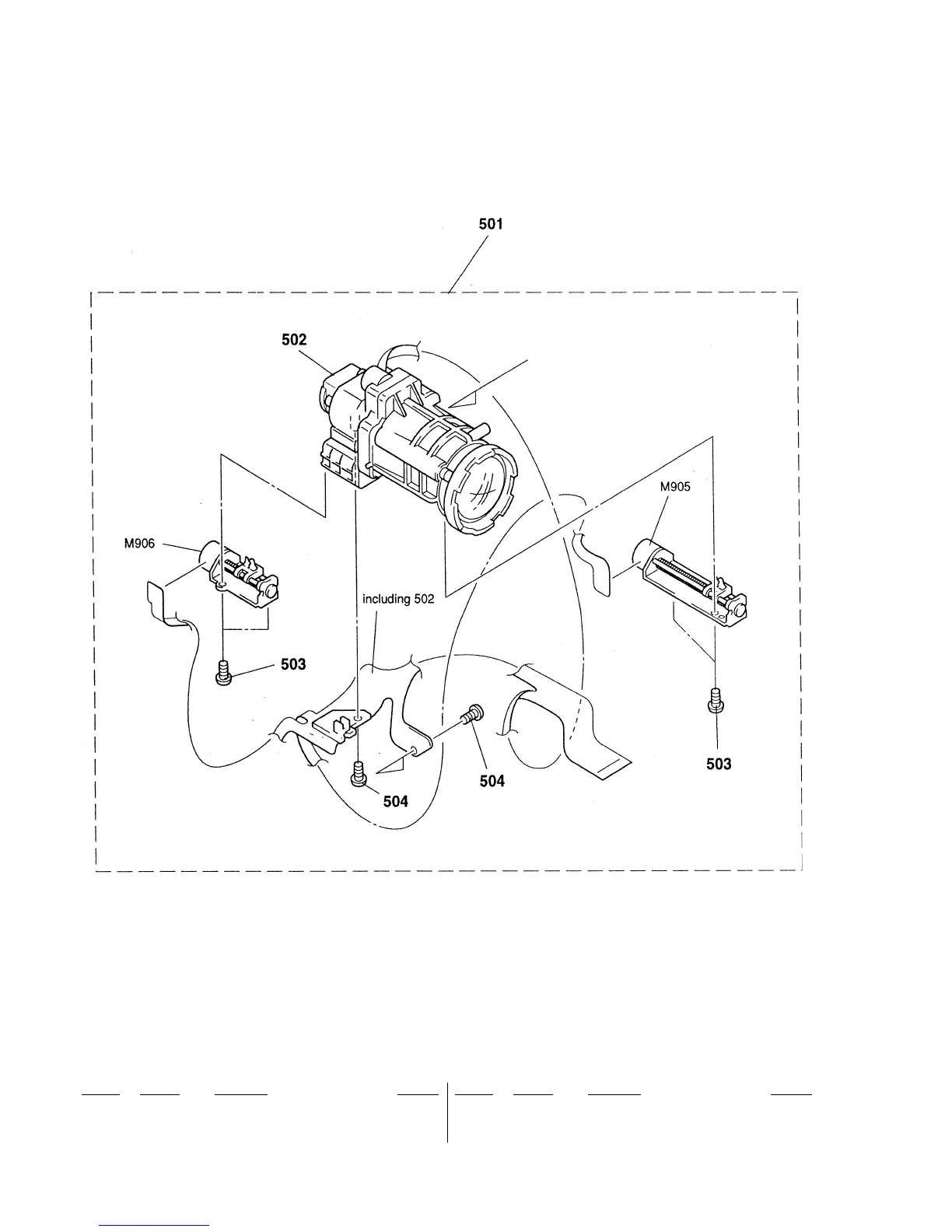
5-1-6. ZOOM LENS BLOCK SECTION (LSV-510A)
Ref. No. Part No. Description Remarks Ref. No. Part No. Description Remarks
501 8-848-710-01 LENS, ZOOM (LSV-510A)
502 A-4910-808-A LSV-510A LENS DEVICE
503 3-713-791-41 SCREW (M1.7X5), TAPPING, P2
504 3-708-302-01 SCREW (BT3 P1.7X4C)
M905 1-698-760-01 STEPPING MOTOR (FOCUS)
M906 1-698-759-01 STEPPING MOTOR (ZOOM)

Table of Contents

Related product manuals