EasyManua.ls Logo

Tandy 1400LT - RS-232 C Check

Tandy 1400LT
301 pages
Print Icon
To Next Page IconTo Next Page
To Next Page IconTo Next Page
To Previous Page IconTo Previous Page
To Previous Page IconTo Previous Page
Loading...
0
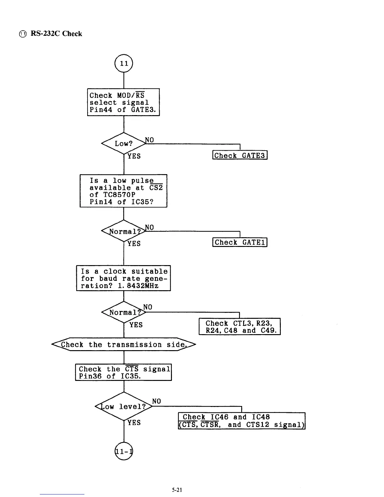
RS-232C Check
Check
MOD/K
select signal
Pin44
of
GATE3.
Check GATE31
Is a
low
pulse-
available at
CS2
of
TC8570P
Pin14
of
IC35?
Is a clock suitable
for baud rate gene-
ration? 1.8432MHz
1
Check CTL3,
R23,
R24,C48 and C49.
eck the transmission si
I
ow
leve
"u
Check IC46 and IC48
(CTS,m, and CTSl2 signal)
5-2
1

Table of Contents

Related product manuals