EasyManua.ls Logo

Tandy 1400LT - Page 131

Tandy 1400LT
301 pages
Print Icon
To Next Page IconTo Next Page
To Next Page IconTo Next Page
To Previous Page IconTo Previous Page
To Previous Page IconTo Previous Page
Loading...
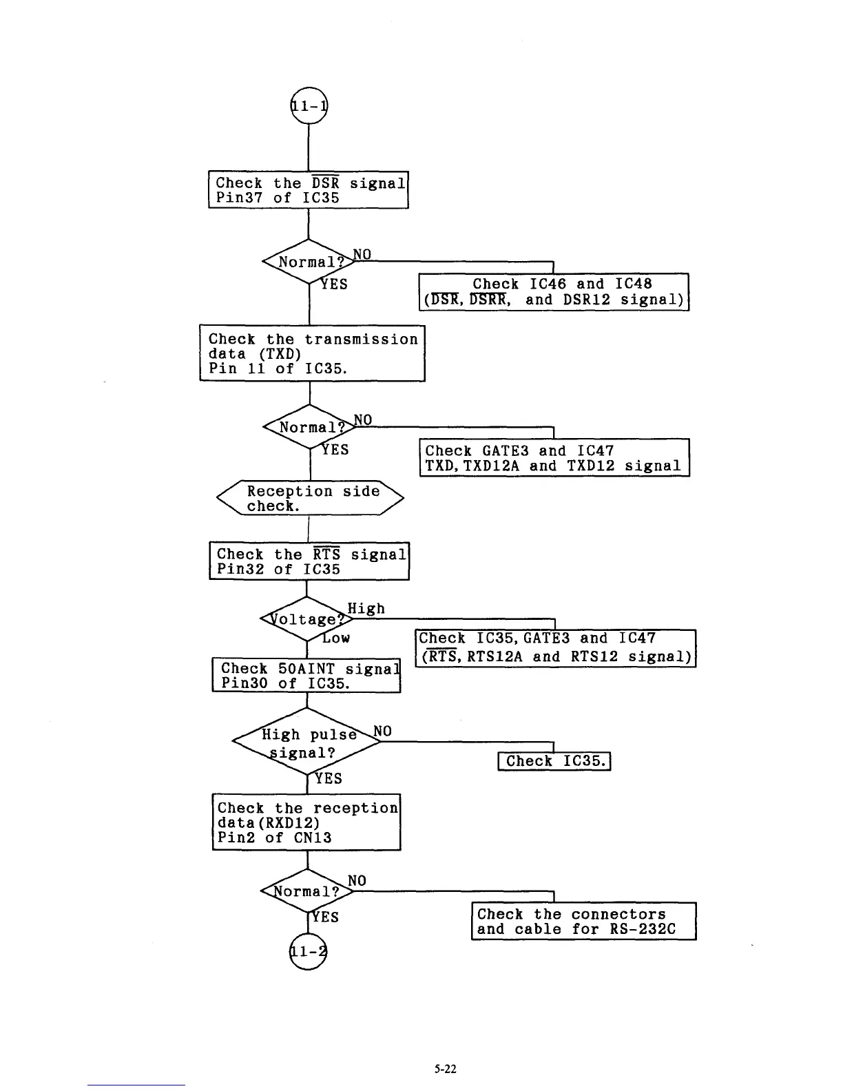
Check IC46 and IC48
(m,m,
and DSRlZ signal)
I
I
Check the transmission
data
(TXD)
Pin
11
of
IC35.
1
Check GATE3 and IC47
TXD,TXDlBA and TXDlZ signal
r
-
1
Check IC35,GATE3 and IC47
(m,
RTS12A and RTSl2 signal)
Check SOAINT signal
Pin30
of
IC35.
..
1
I
Check IC35.1
r
I
1
Check the reception
data (RXD12)
I
Check the
connectors
and cable
for
RS-232C
5-22

Table of Contents

Related product manuals