EasyManua.ls Logo

WSTECH APS Series - Cable Entry Area Specifications

WSTECH APS Series
213 pages
Print Icon
To Next Page IconTo Next Page
To Next Page IconTo Next Page
To Previous Page IconTo Previous Page
To Previous Page IconTo Previous Page
Loading...
Original Operating Instructions
APS Series Outdoor Hybrid Inverter
Installation
APS-Series 120 Operating Instructions v320 EN
Page 66 of 213
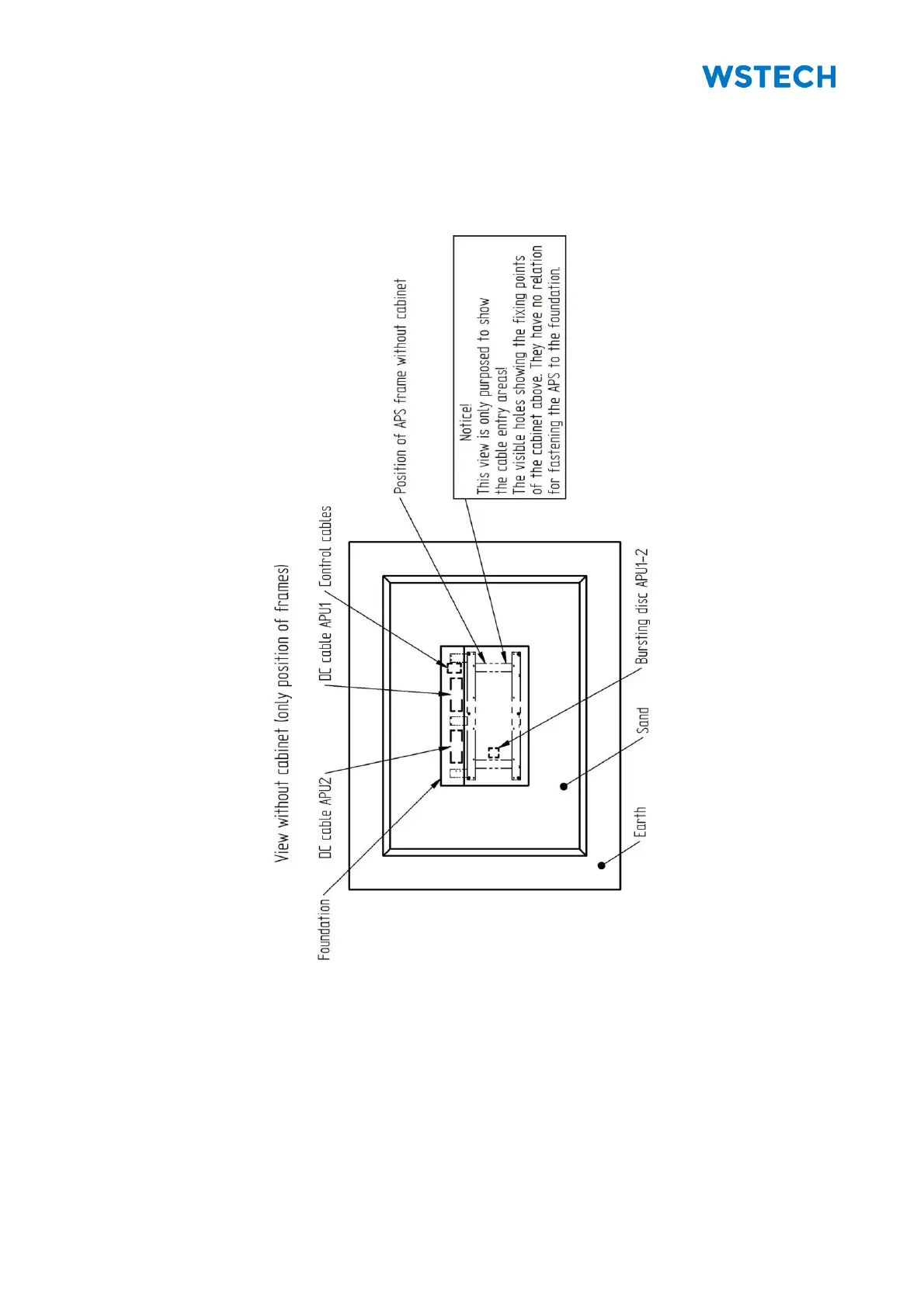
4.2.6 Cable Entry Areas
The customer must perform all cable entries in accordance to IP65 degree of
protection.
All dimensions given in millimetre.
Figure 45: Cable entry areas (APS with 1-2 APUs)

Table of Contents