EasyManua.ls Logo

Yamaha XVS6501997 - Page 314

Yamaha XVS6501997
327 pages
Print Icon
To Next Page IconTo Next Page
To Next Page IconTo Next Page
To Previous Page IconTo Previous Page
To Previous Page IconTo Previous Page
Loading...
7-46
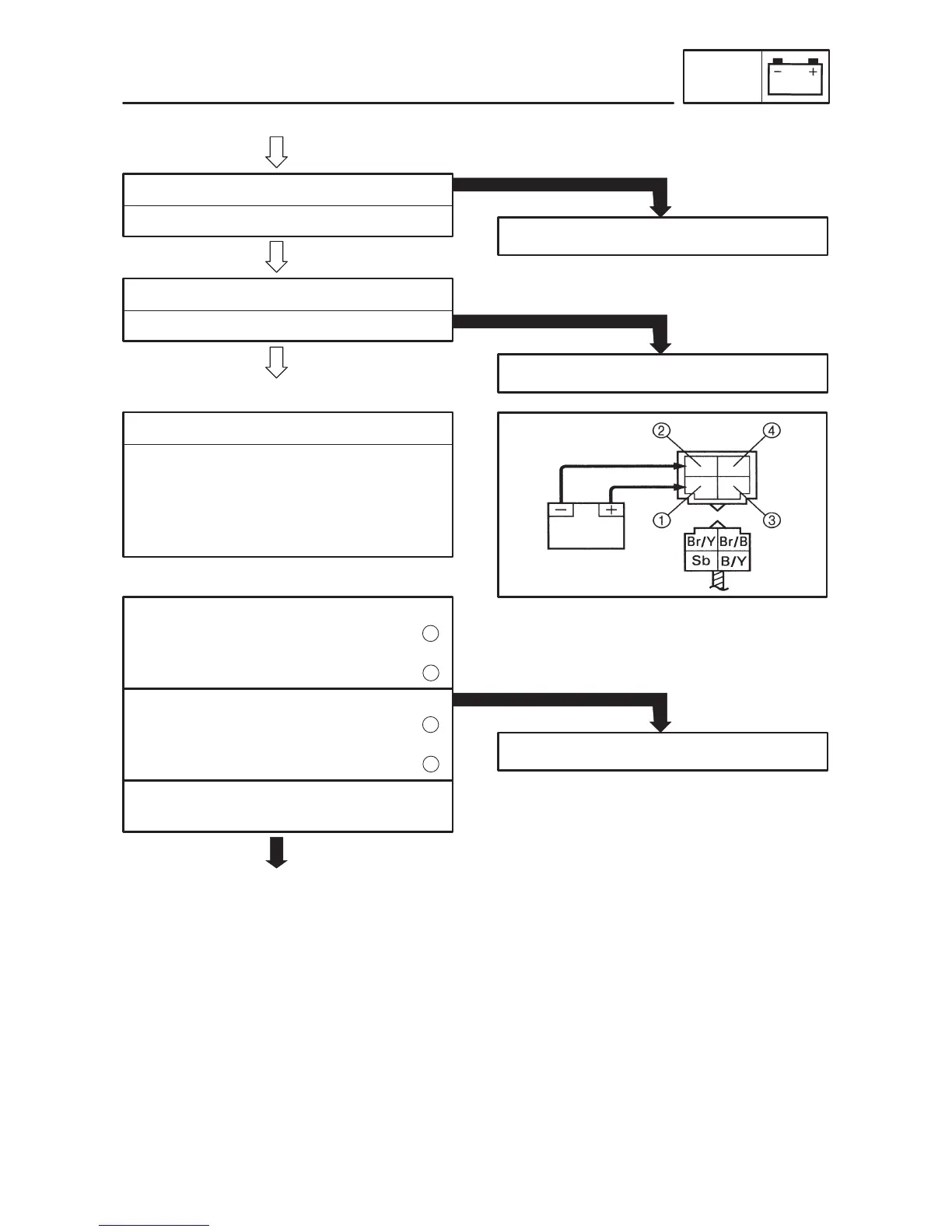
S Remove the carburetor heater relay from
the wire harness.
S Connect the pocket tester ( 1) and battery
(12 V) to the carburetor heater relay termi-
nals.
3. Main switch
Refer to “SWITCH INSPECTION”.
Replace main switch.
INCORRECT
:
4. Neutral switch
Refer to “SWITCH INSPECTION”.
Replace neutral switch.
INCORRECT
5. Caburetor heater relay.
Battery (+) terminal
Brown/Yellow terminal
Battery (–) terminal
Sky blue terminal
1
2
S Check the carburetor heater relay for no
continuity.
Replace carburetor heater relay.
CONTINUITY
NO CONTINUITY
CORRECT
Tester (+) lead
Brown/Black terminal
Tester (–) lead
Black/Yellow terminal
3
4
:
CORRECT
CARBURETOR HEATER SYSTEM
ELEC

Table of Contents