EasyManua.ls Logo

Gemsy GEM1900A - Accessory and Option Parts

Default Icon
217 pages
Print Icon
To Next Page IconTo Next Page
To Next Page IconTo Next Page
To Previous Page IconTo Previous Page
To Previous Page IconTo Previous Page
Loading...
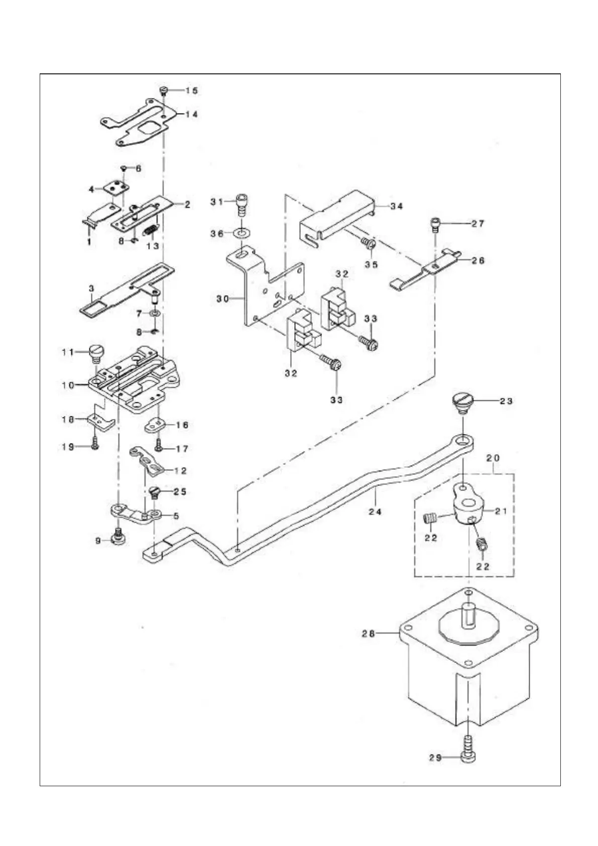
8.夹线控制部件 Tc Clamp Components
103

Table of Contents

Related product manuals