EasyManua.ls Logo

Gemsy GEM1900A - Page 133

Default Icon
217 pages
Print Icon
To Next Page IconTo Next Page
To Next Page IconTo Next Page
To Previous Page IconTo Previous Page
To Previous Page IconTo Previous Page
Loading...
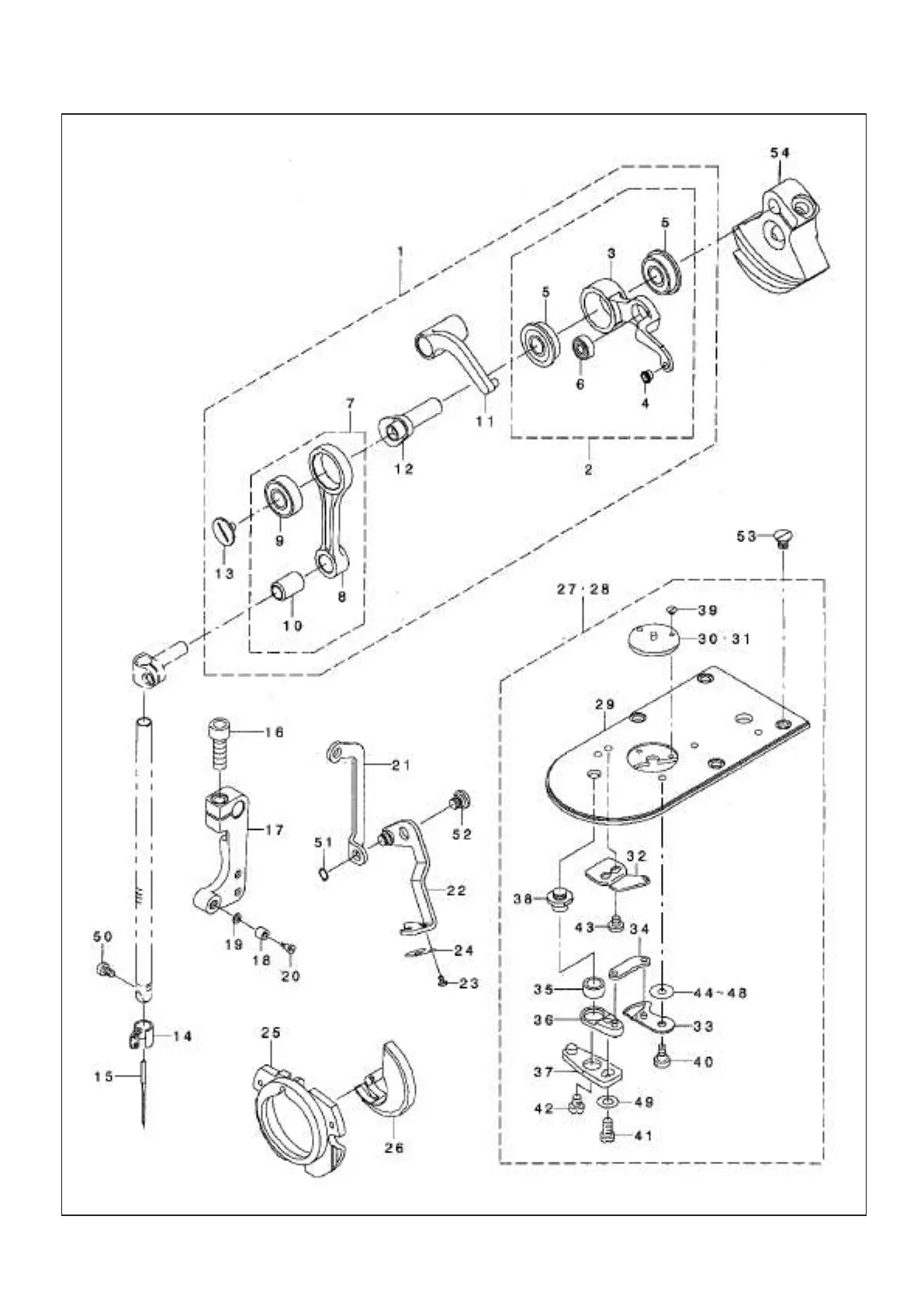
17.1903AS-301,302钉扣专用部件 Exclusive Parts For 1903a(1)
123

Table of Contents

Related product manuals