EasyManua.ls Logo

Gemsy GEM1900A - Page 164

Default Icon
217 pages
Print Icon
To Next Page IconTo Next Page
To Next Page IconTo Next Page
To Previous Page IconTo Previous Page
To Previous Page IconTo Previous Page
Loading...
SC201(1900A/1903A) Operation Instruction
5
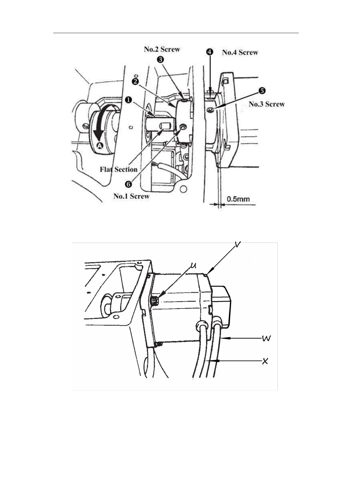
This following diagram shows you the position of the main motor (look from back, and the line is
on your left-hand side):
Screws for fixing the main motortotally 4 Screws for fixing the back of the motortotally
4 Sensor Cable Power cord

Table of Contents

Related product manuals