EasyManua.ls Logo

Ricoh D096 - Page 78

Ricoh D096
268 pages
Print Icon
To Next Page IconTo Next Page
To Next Page IconTo Next Page
To Previous Page IconTo Previous Page
To Previous Page IconTo Previous Page
Loading...
Scanner Unit
D096 4-16 SM
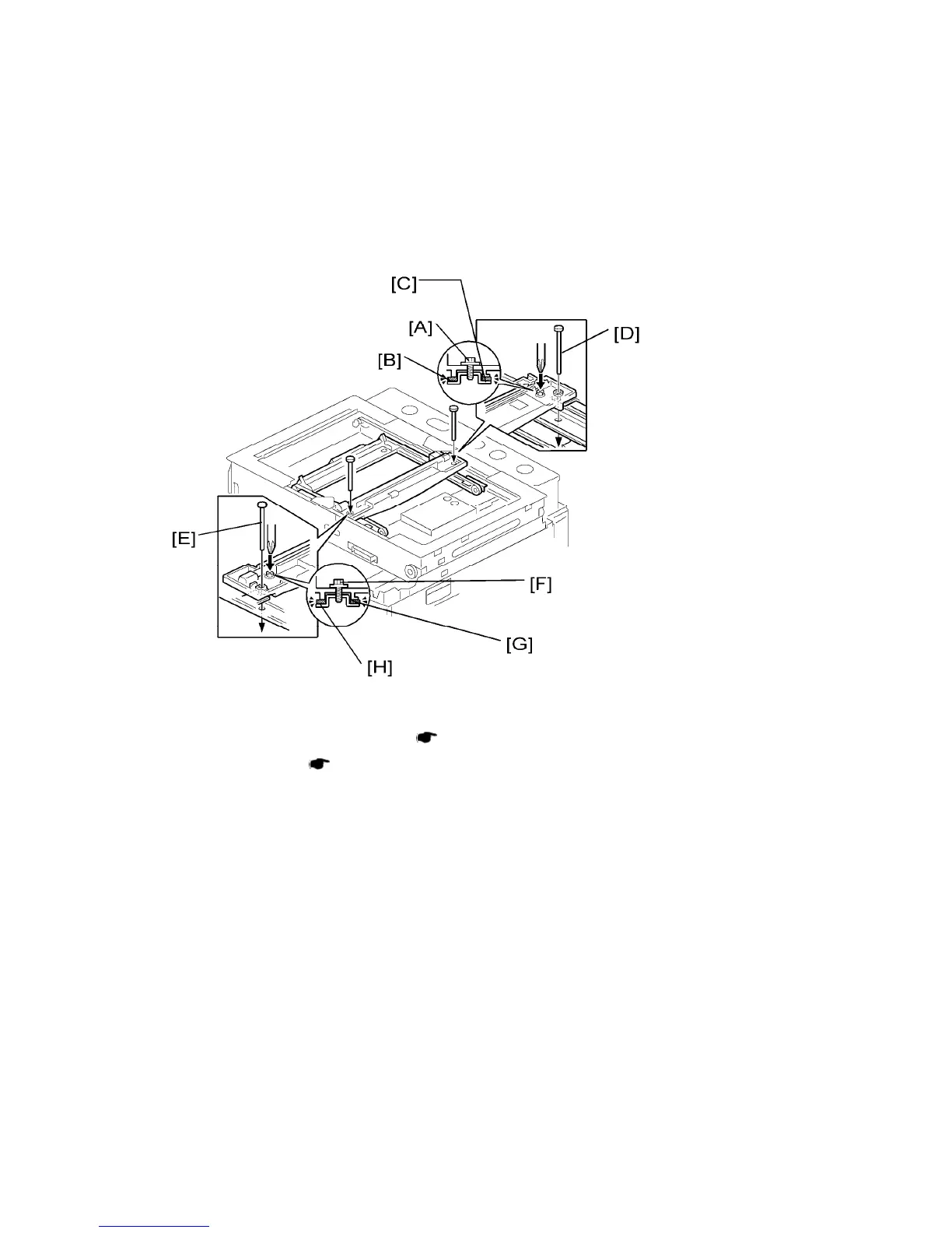
The adjustment holes [H] [J] in the second scanner
The alignment marks [G] [I] on the frames
The scanner positions are correct when these holes and marks are aligned.
- Adjusting the First Scanner Contact Points -
1. ADF or platen cover
2. Operation panel, top rear cover (
p.4-5 "Upper Covers").
3. Exposure glass (
p.4-10 "Exposure Glass/DF Exposure Glass ")
4. Loosen the 2 screws [A] [F].
5. Slide the 1st and 2nd scanners, or one of them, to align the following holes and marks
6. The adjustment holes in the first scanner
7. The adjustment holes in the second scanner
8. The alignment marks on the frames
9. Insert the positioning tools [D] [E] through the holes and marks.
10. Check that the scanner belts [B] [C] [G] [H] are properly set between the bracket and
the 1st scanner.
11. Tighten the screws [A] [F].
12. Remove the positioning tools.
13. Reassemble the machine and check the operation.

Table of Contents

Related product manuals