EasyManua.ls Logo

Ricoh D096 - Page 80

Ricoh D096
268 pages
Print Icon
To Next Page IconTo Next Page
To Next Page IconTo Next Page
To Previous Page IconTo Previous Page
To Previous Page IconTo Previous Page
Loading...
Scanner Unit
D096 4-18 SM
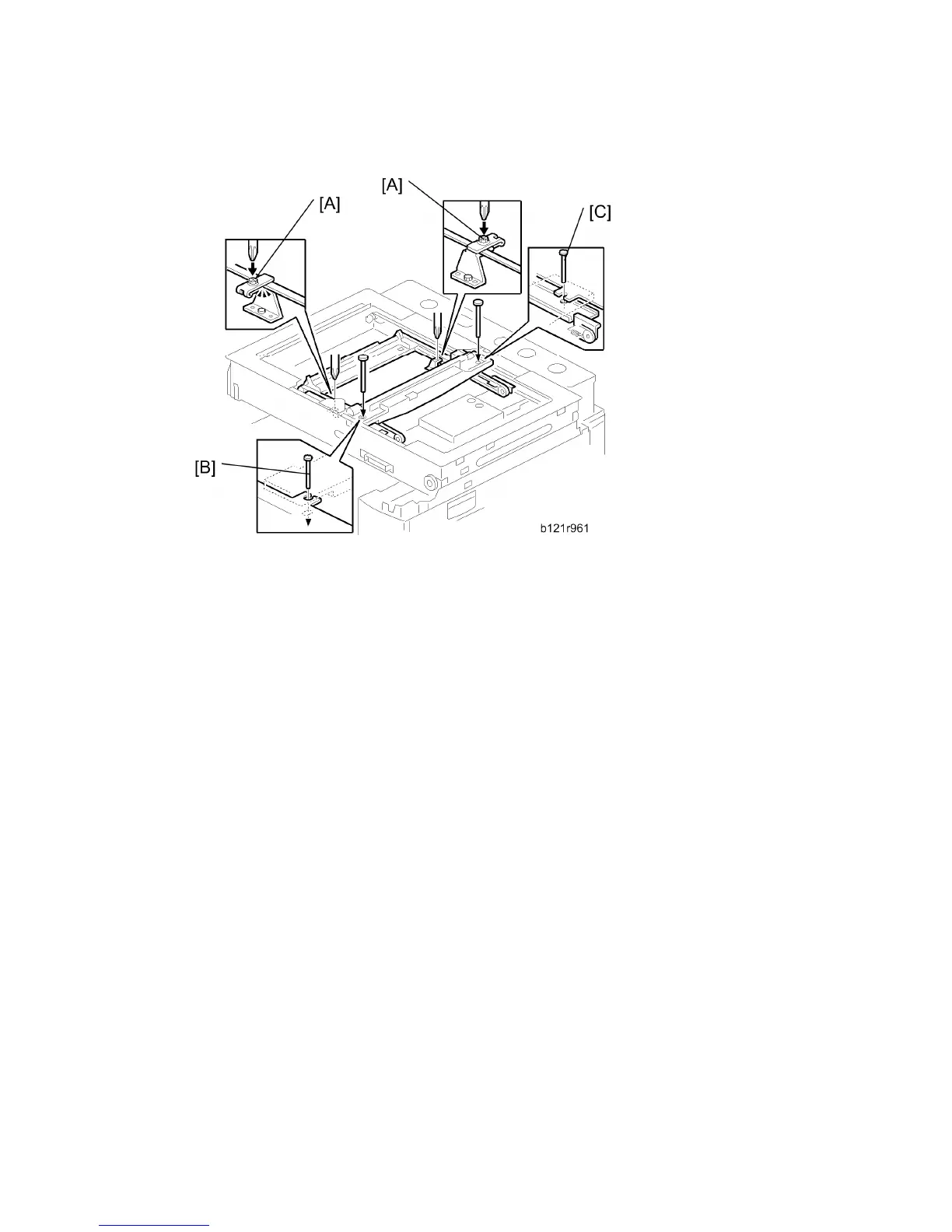
8. Loosen the 2 screws [A].
9. Slide the 2nd scanner to align the following holes and marks
10. The adjustment holes in the first scanner
11. The adjustment holes in the second scanner
12. The alignment marks on the frames
13. Insert the positioning tools [B] [C] through the holes and marks.
14. Check that the scanner belts are properly set in the brackets.
15. Remove the positioning tools.
16. Reassemble the machine and check the operation.

Table of Contents

Related product manuals