EasyManua.ls Logo

Siemens CU240B-2 - Page 130

Siemens CU240B-2
518 pages
Print Icon
To Next Page IconTo Next Page
To Next Page IconTo Next Page
To Previous Page IconTo Previous Page
To Previous Page IconTo Previous Page
Loading...
Commissioning
5.2 Preparing for commissioning
Converter with the CU240B-2 and CU240E-2 Control Units
130 Operating Instructions, 01/2016, FW V4.7 SP6, A5E34259001B AC
The ramp-up and ramp-down times define the maximum motor acceleration when the speed
setpoint changes. The ramp-up and ramp-down time is the time between motor standstill and
the maximum speed, or between the maximum speed and motor standstill.
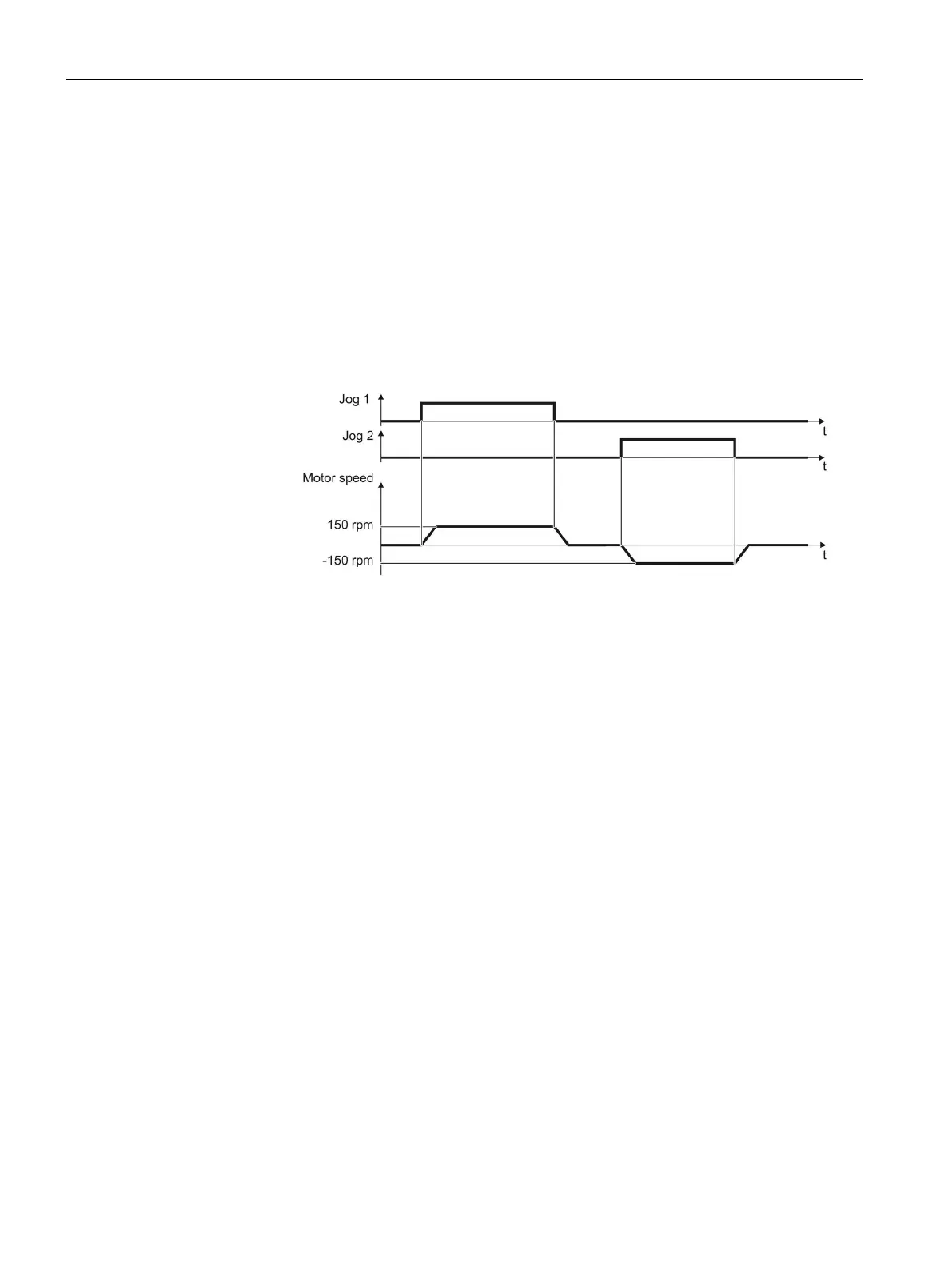
Traverse the motor in the jog mode
For an inverter with PROFIBUS or PROFINET interface, operation can be switched over
using digital input DI 3. The motor is either switched on and off via the fieldbus or operated
in the jog mode via its digital inputs.
For a control command at the respective digital input, the motor rotates with ±150 rpm. The
same ramp-up and ramp-down times as described above apply.
Image 5-2 Jogging the motor in the factory setting
Minimum and maximum speed
Minimum speed - factory setting 0 [rpm]
The minimum speed is the lowest speed of the motor independent of the speed setpoint.
A minimum speed is, for example, useful for fans or pumps.
Maximum speed - factory setting 1500 [rpm]
The inverter limits the motor speed to this value.
Operate the inverter with the factory setting
For basic applications, you can try to operate the drive with a rated power < 18.5 kW without
any other commissioning steps. Check whether the control quality of the drive without
commissioning is adequate for the requirements of the application.
We recommend that you configure the drive with the precise motor data.

Table of Contents

Other manuals for Siemens CU240B-2

Related product manuals