EasyManua.ls Logo

Siemens CU240B-2 - Page 144

Siemens CU240B-2
518 pages
Print Icon
To Next Page IconTo Next Page
To Next Page IconTo Next Page
To Previous Page IconTo Previous Page
To Previous Page IconTo Previous Page
Loading...
Commissioning
5.3 Quick commissioning using the BOP-2 operator panel
Converter with the CU240B-2 and CU240E-2 Control Units
144 Operating Instructions, 01/2016, FW V4.7 SP6, A5E34259001B AC
10.
Select the default setting for the interfaces of the inverter that
is suita-
ble for your application.
Default settings of the CU240B-2 interfaces (Page 97)
Default settings of the CU240E-2 interfaces (Page 104)
11.
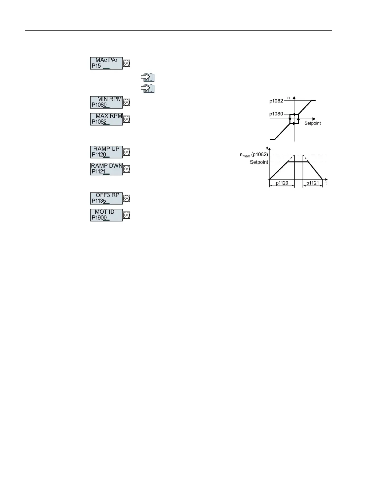
Minimum speed of the motor
12.
13.
Motor ramp
-up time.
14.
Motor ramp
-down time
15.
Ramp
-down time for the OFF3 command
16.
Motor data identification
Select the method which the inverter uses to measure the data of the
connected motor:
OFF
No measurement of motor data.
STIL ROT
Recommended setting: Measure the motor data at stan
d-
still and with the motor rotating. The inver
ter switches off
the motor after the motor data identification has been
completed.
STILL
Measure the motor data at standstill. The inverter switc
h-
es off the motor after the motor data identification has
been completed.
Select this setting if one of the
following cases is applica-
ble:
You have selected control mode "SPD N EN",
however, the motor cannot freely rotate - for a
mechanically limited travel range, for example.
You have selected U/f control as control mode, e.g.
"VF LIN"or "VF QUAD".
ROT
Measu
ring the motor data while it is rotating. The inverter
switches off the motor after the motor data identification
has been completed.
ST RT OP
Setting the same as STIL ROT.
After the motor data identification, the motor accelerates
to the currently set setpoint.
STILL OP
Setting the same as STILL.
After the motor data identification, the motor accelerates
to the currently set setpoint.

Table of Contents

Other manuals for Siemens CU240B-2

Related product manuals