EasyManua.ls Logo

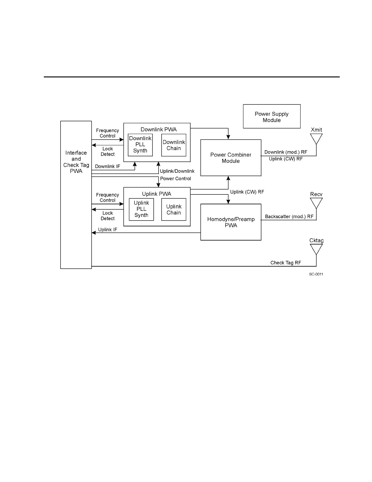
TransCore Amtech IT2200 - IT2611 RF Module; Figure B-7 IT2611 RF Module Functional Block Diagram (Bistatic Configuration

Default Icon
204 pages
Print Icon
To Next Page IconTo Next Page
To Next Page IconTo Next Page
To Previous Page IconTo Previous Page
To Previous Page IconTo Previous Page
Loading...
Block Diagrams
B-9
IT2611 RF Module
Figure B-7 IT2611 RF Module Functional Block Diagram (Bistatic Configuration)

Table of Contents

Related product manuals