EasyManua.ls Logo

TransCore Amtech IT2200 - Figure 3-7 IT2221 Tag Block Diagram

Default Icon
204 pages
Print Icon
To Next Page IconTo Next Page
To Next Page IconTo Next Page
To Previous Page IconTo Previous Page
To Previous Page IconTo Previous Page
Loading...
IT2200 Reader System with Multimode Capability Installation & Maintenance/Service Guide
3-16
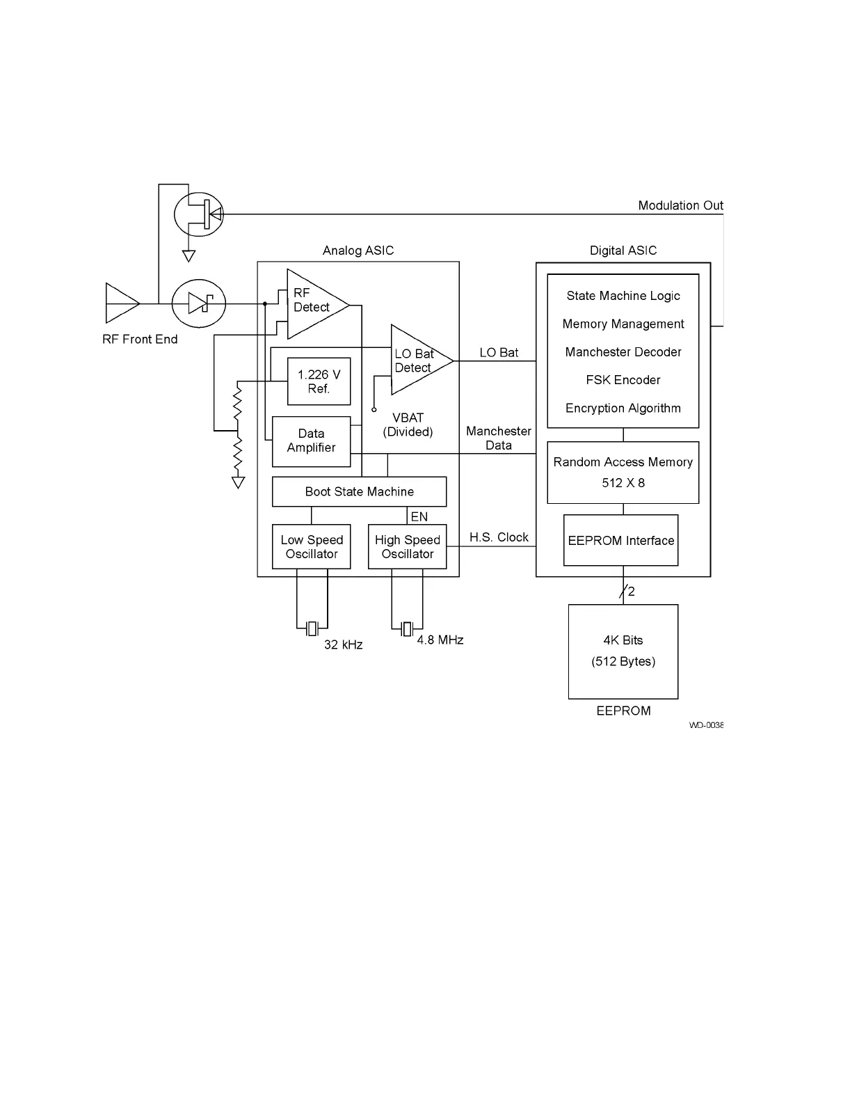
Figure 3-12 illustrates the IT2221 Tag block diagram.
Figure 3-7 IT2221 Tag Block Diagram

Table of Contents

Related product manuals