EasyManua.ls Logo

YASKAWA VS-656MR5 - Page 132

YASKAWA VS-656MR5
305 pages
Print Icon
To Next Page IconTo Next Page
To Next Page IconTo Next Page
To Previous Page IconTo Previous Page
To Previous Page IconTo Previous Page
Loading...
7.5 Winding Selection Methods
7-9
Speed reference
Speed
S500
S2000
S500
[CHWE]
[CHW]
OFF
ON
OFF
ON
OFF
ON
0
500 min
1
2000 min
1
500 min
1
[SDET]
nS
nS
S
CHW
0
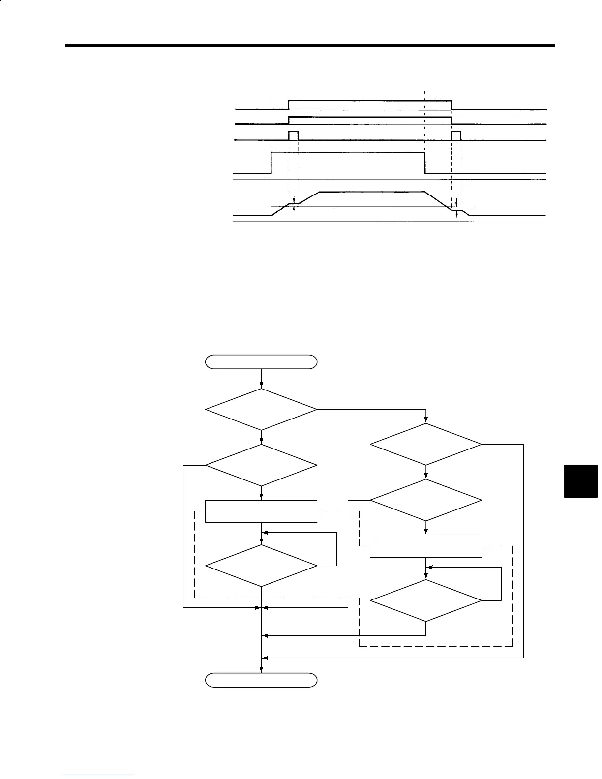
Fig 7.7 Timing Chart
J
Using Speed Reference and the Inverter Speed Detection Signal
This method performs winding selection by judging whether the speed reference and actual motor speed
are within the high-speed winding selection range or the low-speed winding selection range, using the
speed reference and the Inverter speed detection signal (SDET). (Refer to the table below.) Compared with
the changing method that uses only the speed detection signal, signal processing is increased, but the fre-
quency of magnetic contactor changing can be reduced. The flowchart and timing chart are shown below.
Start
Speed reference
S
CHW
+ nS
Is SDET OFF?
Select high-speed winding.
(CHW turns OFF.)
Winding selction
completed (CHWE)?
End
Speed reference
S
CHW
nS
Is SDET ON?
Select low-speed winding.
(CHW turns ON.)
Winding selection
completed (CHWE)?
YES
YES
NO
NO
YES
YES
YES
NO
NO
NO
YES
NO
* Operations within the dotted lines are Inverter internal signal processes.
Fig 7.8 Flowchart
7

Table of Contents

Related product manuals