EasyManua.ls Logo

Dodge Neon 2001 - Page 378

Dodge Neon 2001
743 pages
Print Icon
To Next Page IconTo Next Page
To Next Page IconTo Next Page
To Previous Page IconTo Previous Page
To Previous Page IconTo Previous Page
Loading...
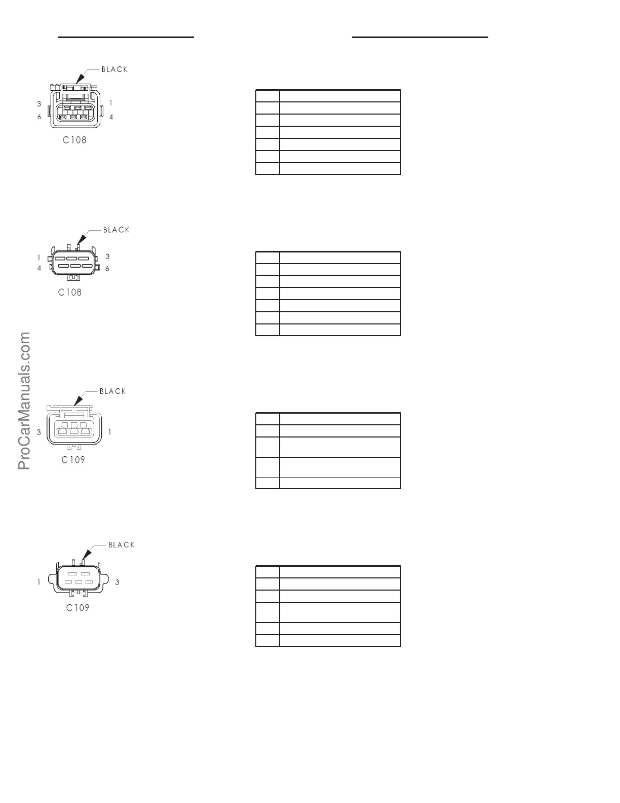
C108 - BLACK (HD/LP & DASH SIDE)
CAV CIRCUIT
1 F12 18DB/WT (2.0L)
2 F20 20WT
3 K54 18OR/BK (2.0L)
4 L1 18VT/BK
5 T41 18BR/YL (2.0L)
6-
C108 - BLACK (TRANS SIDE)
CAV CIRCUIT
1 F12 18DB/WT (ATX)
2 F20 20WT
3 K54 18OR/BK (ATX)
4 L1 18VT/BK
5 T41 18BR/YL (ATX)
6-
C109 - BLACK (HD/LP & DASH SIDE)
CAV CIRCUIT
1 L39 16LB (RHD)
1 L39 18LB (LHD) (EXCEPT BUILT-UP-
EXPORT)
2 X2 18DG/RD (DUAL HORNS
CHRYSLER)
3 Z1 18BK
C109 - BLACK (FOG LAMP JUMPER SIDE)
CAV CIRCUIT
1 L39 16LB (BUILT-UP-EXPORT)
1 L39 18LB (EXCEPT BUILT-UP-EXPORT)
2 X2 18DG/RD (DUAL HORNS
CHRYSLER)
3 Z1 20BK (BUILT-UP-EXPORT)
3 Z1 18BK (EXCEPT BUILT-UP-EXPORT)
PL 8W-80 CONNECTOR PINOUTS 8Wa - 80 - 13
ProCarManuals.com
2001 NEON

Table of Contents

Related product manuals