EasyManua.ls Logo

Dodge Neon 2001 - INSTALLATION; TORQUE CONVERTER; DESCRIPTION

Dodge Neon 2001
743 pages
Print Icon
To Next Page IconTo Next Page
To Next Page IconTo Next Page
To Previous Page IconTo Previous Page
To Previous Page IconTo Previous Page
Loading...
INSTALLATION
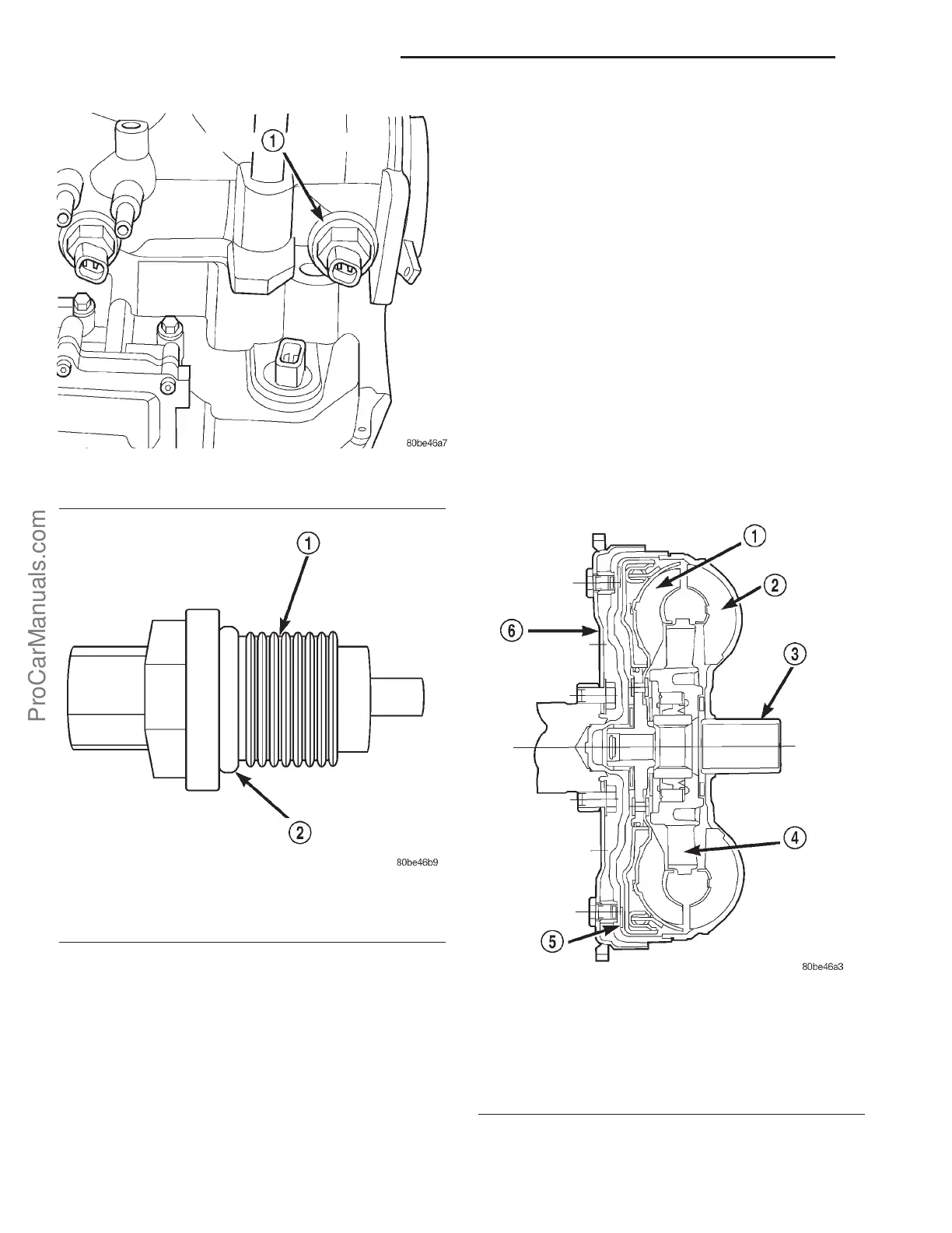
(1) Verify o-ring is installed into position (Fig.
298).
(2) Install and tighten input speed sensor to 27
N·m (20 ft. lbs.).
(3) Connect speed sensor connector.
(4) Connect battery negative cable.
TORQUE CONVERTER
DESCRIPTION
The torque converter (Fig. 299) is a hydraulic
device that couples the engine crankshaft to the
transmission. The torque converter consists of an
outer shell with an internal turbine, a stator, an
overrunning clutch, an impeller and an electronically
applied converter clutch. The converter clutch pro-
vides reduced engine speed and greater fuel economy
when engaged. Clutch engagement also provides
reduced transmission fluid temperatures. The con-
verter clutch engages in third gear. The torque con-
verter hub drives the transmission oil (fluid) pump.
The torque converter is a sealed, welded unit that
is not repairable and is serviced as an assembly.
CAUTION: The torque converter must be replaced if
a transmission failure resulted in large amounts of
metal or fiber contamination in the fluid. If the fluid
is contaminated, flush the fluid cooler and lines.
Fig. 297 Output Speed Sensor
1 - OUTPUT SPEED SENSOR
Fig. 298 O-ring Location
1 - OUTPUT SPEED SENSOR
2 - O-RING
Fig. 299 Torque Converter Assembly
1 - TURBINE
2 - IMPELLER
3 - HUB
4-STATOR
5 - CONVERTER CLUTCH DISC
6 - DRIVE PLATE
21s - 184 41TE AUTOMATIC TRANSAXLE PL
SPEED SENSOR - OUTPUT (Continued)
ProCarManuals.com
2001 NEON

Table of Contents

Related product manuals