EasyManua.ls Logo

Extra 300LT - Typical Instrument Attachments; Typical Instruments

Extra 300LT
551 pages
Print Icon
To Next Page IconTo Next Page
To Next Page IconTo Next Page
To Previous Page IconTo Previous Page
To Previous Page IconTo Previous Page
Loading...
CHAPTER 31
PAGE 14
PAGE DATE: 24. February 2017
MAINTENANCE MANUAL EXTRA 300LT
31-10-07 Typical Instruments
Removal/Installation
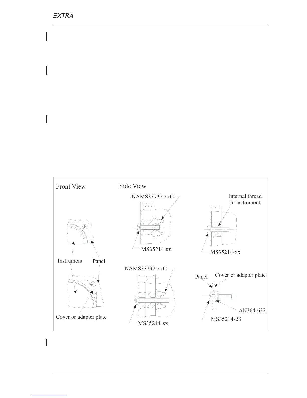
In Figure 8 typical instrument attachments used in the EXTRA
300LT are outlined.
1 Switch off aircraft power
2 Remove main fuselage cover per Chapter 53.
3 Remove rear instrument panel cover if applicable per
Chapter 31-10-02.
4 Disconnect cable and/or sense line from the instrument.
5 Remove screws, nuts or clipnuts as applicable.
6 Remove instrument from panel.
7 Install in reverse sequence of removal.
Figure 8 Typical Instrument Attachments

Table of Contents

Other manuals for Extra 300LT

Related product manuals