EasyManua.ls Logo

Extra 300LT - Vertical Stabilizer Removal;Installation

Extra 300LT
551 pages
Print Icon
To Next Page IconTo Next Page
To Next Page IconTo Next Page
To Previous Page IconTo Previous Page
To Previous Page IconTo Previous Page
Loading...
CHAPTER 55
PAGE 11
PAGE DATE: 12. June 2015
MAINTENANCE MANUAL EXTRA 300LT
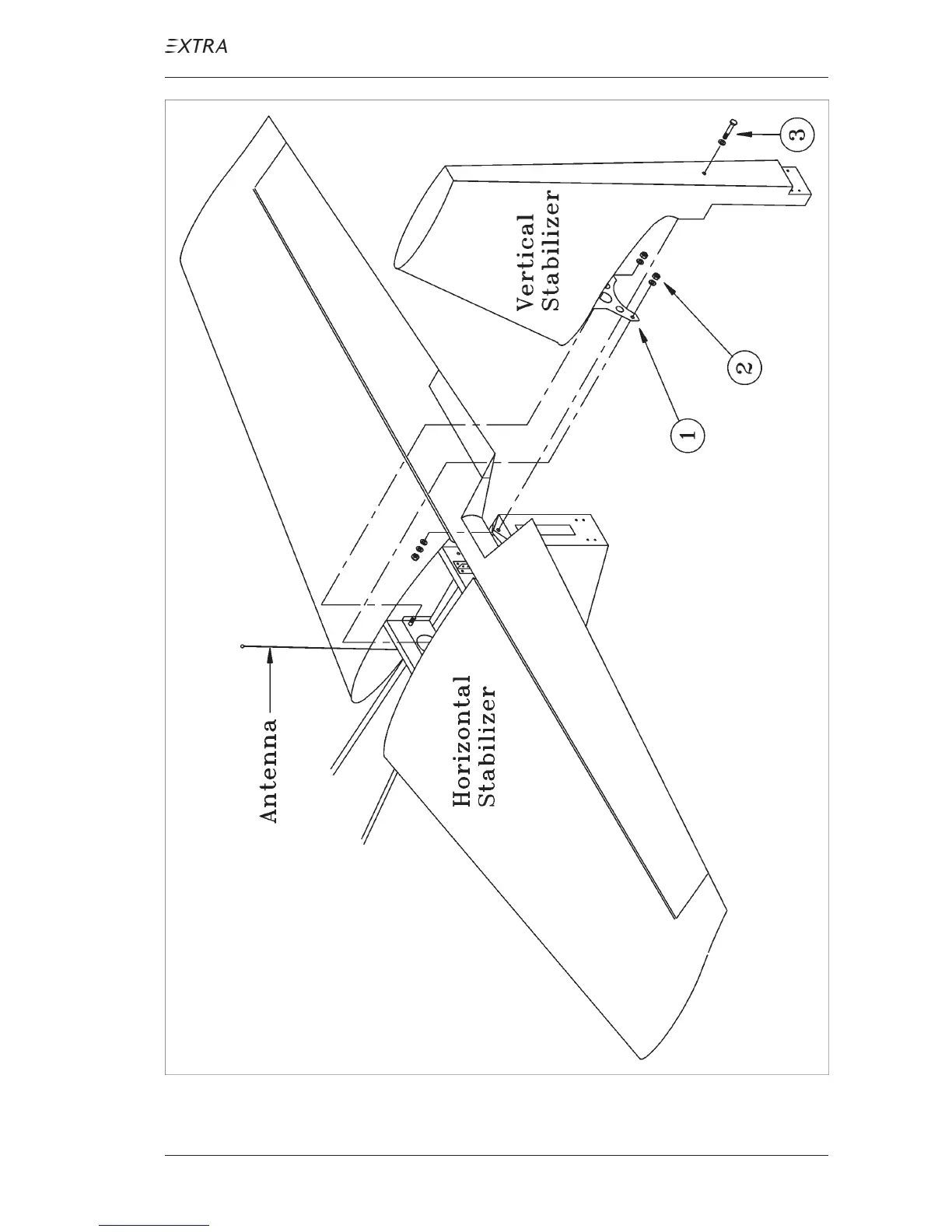
Figure 5 Vertical Stabilizer Removal/Installation

Table of Contents

Other manuals for Extra 300LT

Related product manuals