EasyManua.ls Logo

Extra 300LT - Fuel Pressure; Fuel Pressure Sense Line

Extra 300LT
551 pages
Print Icon
To Next Page IconTo Next Page
To Next Page IconTo Next Page
To Previous Page IconTo Previous Page
To Previous Page IconTo Previous Page
Loading...
CHAPTER 73
PAGE 17
MAINTENANCE MANUAL EXTRA 300LT
PAGE DATE: 12. June 2015
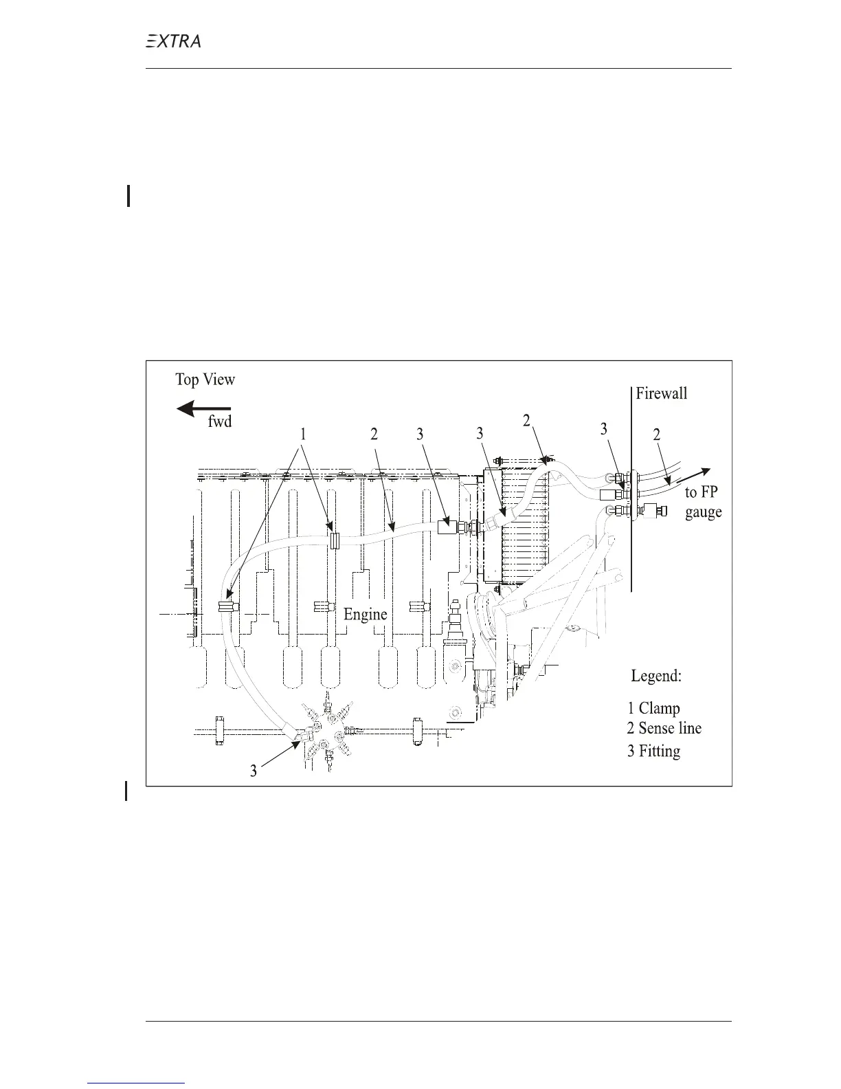
73-30-10 Fuel Pressure
The fuel pressure gauge is located in the rear instrument
panel. The instrument takes fuel pressure from the sense line
(refer to Figure 9).
Because the fuel flow to the engine cylinders is restricted,
there is a direct relation between fuel pressure and fuel flow.
This relation is shown on the Lycoming curve N° 13011 "Fuel
Flow vs. Nozzle Pressure". So the fuel pressure gauge indicates
fuel pressure but on a scale which is converted to fuel flow
values (generally the fuel flow value is more useful for the
pilot). The red line however shows a pressure value.
Figure 9 Fuel Pressure Sense Line

Table of Contents

Other manuals for Extra 300LT

Related product manuals