EasyManua.ls Logo

Extra 300LT - Balancing Mandrels; Control Surface Balancing; Figure 2; Moments

Extra 300LT
551 pages
Print Icon
To Next Page IconTo Next Page
To Next Page IconTo Next Page
To Previous Page IconTo Previous Page
To Previous Page IconTo Previous Page
Loading...
CHAPTER 51
PAGE 18
PAGE DATE: 21. March 2014
MAINTENANCE MANUAL EXTRA 300LT
51-60-00 CONTROL SURFACE BALANCING
51-60-01 Weighing and Determination of Control
Surface Moments
All weighing of control surfaces is performed with surfaces
removed from aircraft. Weighing and determination of con-
trol surface moments is necessary after repairs or painting.
Weigh the control surfaces including the mass balances in
disassembled condition. The aileron weight includes the
spade. Copy Figure 4, enter the values (W, m, r) and check
whether the surface weights and moments are within the
given tolerances. If they are not, contact the manufacturer
for advice.
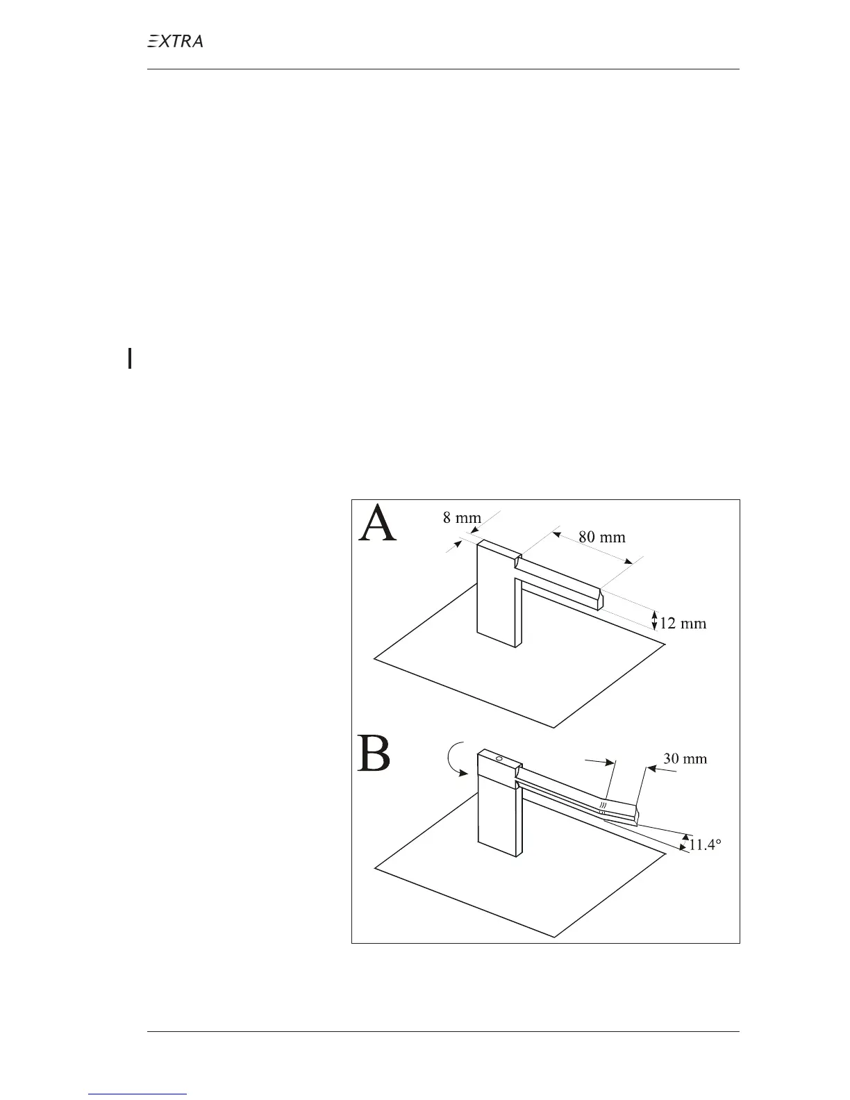
For the determination of control surface moments follow
the steps as described below and use two balancing mandrels
like shown in the figure 2:
Figure 2 Balancing Mandrels

Table of Contents

Other manuals for Extra 300LT

Related product manuals