EasyManua.ls Logo

Gemsy GEM1900A - Page 125

Default Icon
217 pages
Print Icon
To Next Page IconTo Next Page
To Next Page IconTo Next Page
To Previous Page IconTo Previous Page
To Previous Page IconTo Previous Page
Loading...
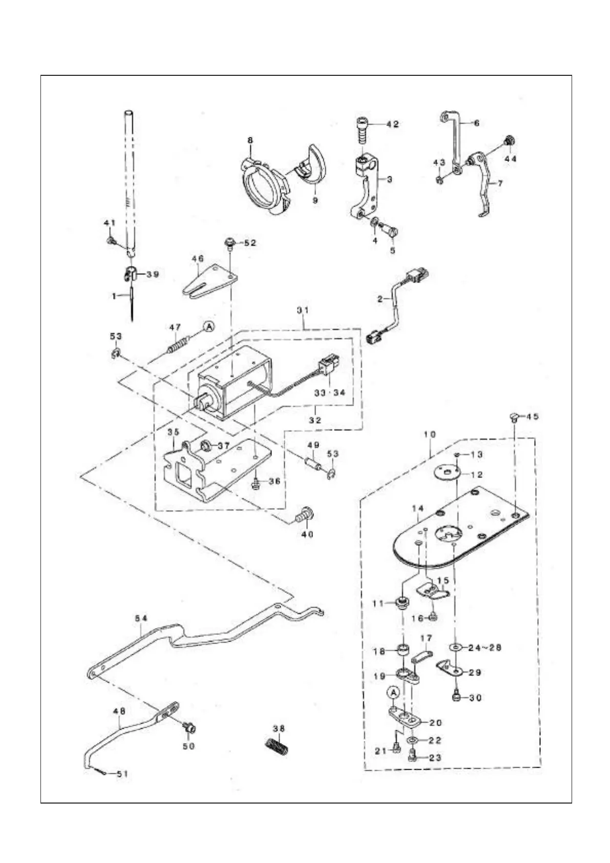
14.1901A专用部件 Exclusive Parts For 1901A (1)
115

Table of Contents

Related product manuals